样品
成果详情
| 项目简介 | |||||
|---|---|---|---|---|---|
| 技术简介: | |||||
| 专利类型: | 实用新型 | 专利申请号: | CN201420498938.6 | 公开号: | CN204133526U |
| 专利权人: | 南方医科大学南方医院 | 发明设计人: | 林建华;周杰;侯晓敏;钟奕;李乃树 | ||
| 所属领域: | |||||
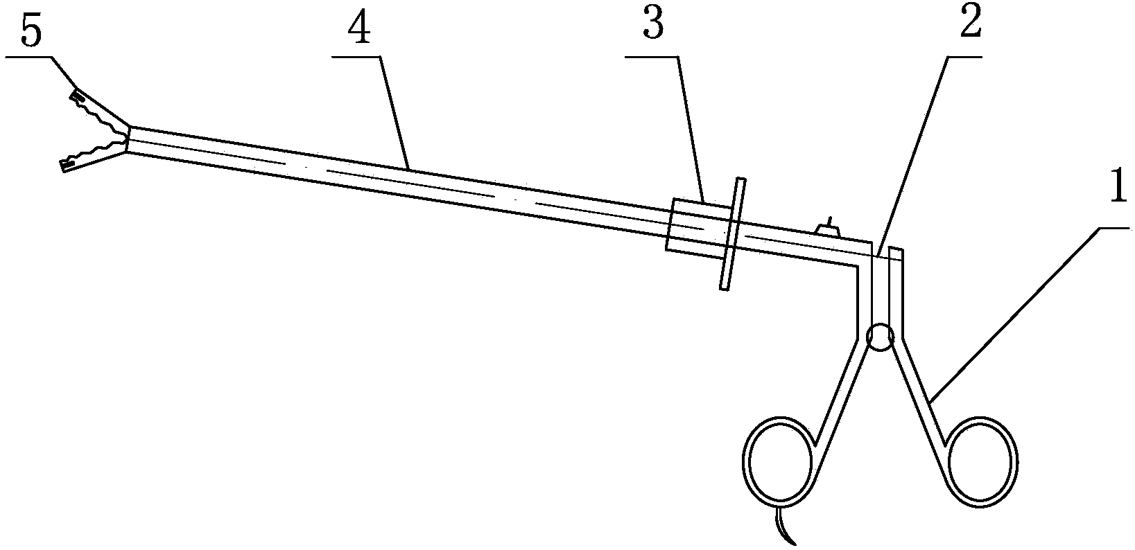
| 摘要: | 本实用新型涉及一种用于腹腔镜下手术的双舌叶打结器。本实用新型所述的双舌叶打结器包括:用于手持操作的手柄;用于穿线打结的打结器头,其前部分为两个能互相开合的舌叶,每个所述舌叶的前端开设有能穿过手术线的狭槽;细长的芯体,其一端连接在所述手柄,另一端连接到所述打结器头的后部分,以致通过所述手柄的开合操作带动所述芯体牵引所述打结器头;套管,其套住所述芯体;以及转换器,位于所述套管与所述手柄之间,其内部与所述芯体相连接,以致通过所述转换器的旋转带动所述芯体使所述打结器头旋转。本实用新型所述的双舌叶打结器可较好地模拟了外科开腹手术双手打结的特点,操作简单、灵活、牢靠,有良好的临床应用效果。 | ||||
| 补充信息 | |||||
| 转让方式: | 成熟度: | 预估价值: | |||
| 市场前景: | |||||