样品
成果详情
| 项目简介 | |||||
|---|---|---|---|---|---|
| 技术简介: | |||||
| 专利类型: | 实用新型 | 专利申请号: | CN202320846732.7 | 公开号: | CN219896101U |
| 专利权人: | 南方医科大学南方医院 | 发明设计人: | 冀雅彬;潘速跃;吴永明;姬仲 | ||
| 所属领域: | |||||
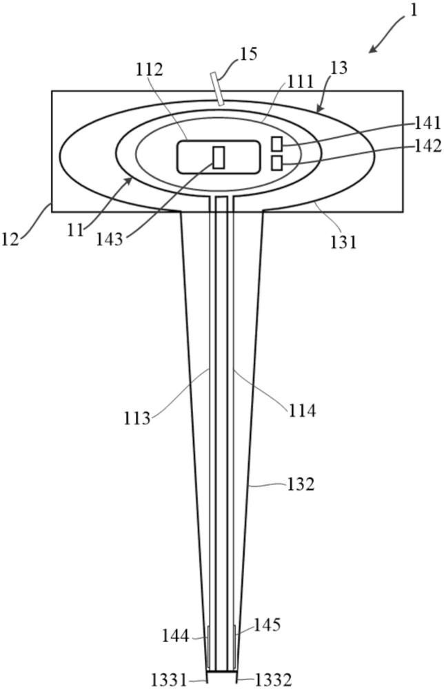
| 摘要: | 一种亚低温脑保护装置,包括用于脑脊液流入和流出的蠕动泵,用于脑脊液降温的制冷箱,用于放置所述蠕动泵的罩体,用于抽取脑脊液的阀门,用于监测脑脊液温度的温度传感器,用于监测脑脊液血氧饱和度的血氧饱和度传感器,用于监控所述蠕动泵运转速度的速度传感器,用于监测大脑颅压的第一压力传感器和第二压力传感器;通过蠕动泵运作实现脑脊液循环降温,不仅比导热材料热传导降温更高效,而且作为独立的为脑部单独降温的装置,不与外界相连,减少了感染的机会并且避免了全身降温的副作用,还能够长时间放置,随时进行脑脊液降温。 | ||||
| 补充信息 | |||||
| 转让方式: | 成熟度: | 预估价值: | |||
| 市场前景: | |||||