样品
成果详情
| 项目简介 | |||||
|---|---|---|---|---|---|
| 技术简介: | |||||
| 专利类型: | 实用新型 | 专利申请号: | CN201921736414.5 | 公开号: | CN211214682U |
| 专利权人: | 南方医科大学南方医院 | 发明设计人: | 苏青;张军花;蒲小芹;钟奕;黄惠萍;张敏;胡琴;刘婷婷 | ||
| 所属领域: | |||||
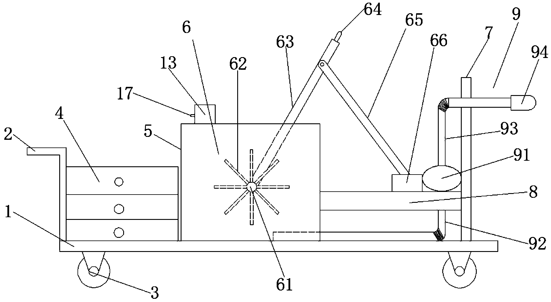
| 摘要: | 本实用新型公开了一种手术护理用伤口清洗装置,包括底板,所述底板的侧面固定连接有推杆,所述底板的底部固定连接有万向轮,所述推杆的一侧设有置物柜,所述置物柜远离推杆的一侧设有储水瓶,所述储水瓶的内部设有搅拌装置,所述储水瓶顶部固定连接有药盒,所述储水瓶固定连接于底板的表面,所述底板的表面靠右固定连接有支架,所述支架的一侧与储水瓶的表面固定连接有支撑板,所述支撑板的表面设有清洗装置。搅拌装置可使药品与水混合均匀,清洗装置可将混合均匀的药液喷洒到伤口上,搅拌装置可与清洗装置的配合运动,达到了均匀混合药品的同时可进行伤口的清洗的效果。 | ||||
| 补充信息 | |||||
| 转让方式: | 成熟度: | 预估价值: | |||
| 市场前景: | |||||