样品
成果详情
| 项目简介 | |||||
|---|---|---|---|---|---|
| 技术简介: | |||||
| 专利类型: | 实用新型 | 专利申请号: | CN202320450405.X | 公开号: | CN219685696U |
| 专利权人: | 南方医科大学南方医院 | 发明设计人: | 饶伟忠;甄莉;朱木兰 | ||
| 所属领域: | |||||
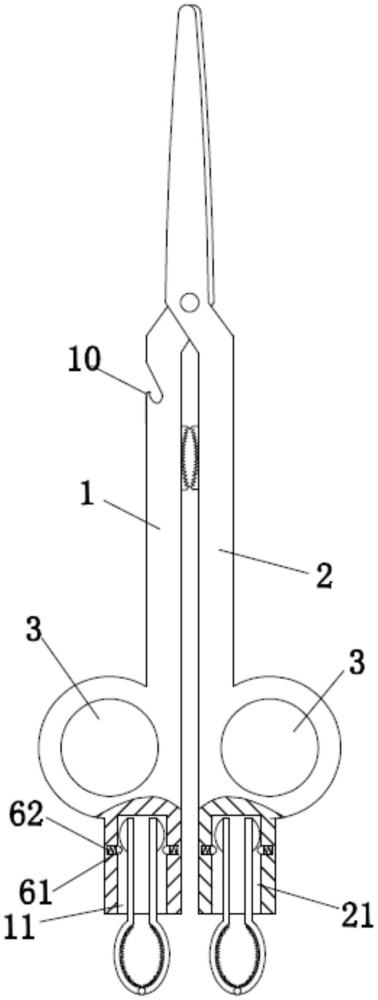
| 摘要: | 本实用新型公开了一种护士专用多功能剪刀,包括相互铰接的第一刀柄和第二刀柄,第一刀柄和第二刀柄两者的尾部均设有柄环,第一刀柄的末端设有第一插槽,第二刀柄的末端设有第二插槽,第一插槽和第二插槽内分别可拆式插接有第一夹子和第二夹子;第一夹子与内外牙螺旋公母二通的外牙公接头外壁相适配,第二夹子与内外牙螺旋公母二通的内牙母接头外壁相适配。本实用新型提供的护士专用多功能剪刀,不仅可以作为剪刀使用,还可以用于拧开输液管的内外牙螺旋公母二通,操作省力,提高效率;第一刀柄上的尖端可用于代替人手快速撬开装有药液的玻璃液体瓶的瓶盖。 | ||||
| 补充信息 | |||||
| 转让方式: | 成熟度: | 预估价值: | |||
| 市场前景: | |||||