样品
成果详情
| 项目简介 | |||||
|---|---|---|---|---|---|
| 技术简介: | |||||
| 专利类型: | 实用新型 | 专利申请号: | CN202121593004.7 | 公开号: | CN216136447U |
| 专利权人: | 南方医科大学珠江医院 | 发明设计人: | 杨秀冬;罗迎霞 | ||
| 所属领域: | |||||
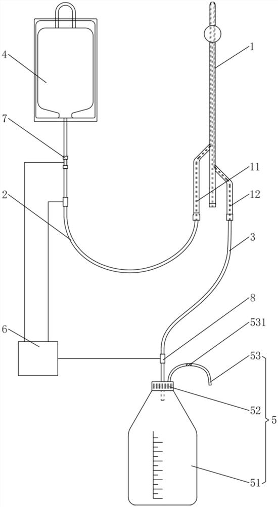
| 摘要: | 本实用新型公开了一种持续膀胱冲洗装置,包括留置人体的三腔导尿管,所述三腔导尿管的三条腔道分别是冲洗腔道、引流腔道、充气腔道,还包括冲洗管、引流管、装有冲洗液的储液袋、引流瓶、控制器,其中,所述冲洗腔道通过冲洗管与储液袋连通,所述引流腔道通过引流管与引流瓶连通,以及,所述冲洗管上安装有流量调节阀且冲洗管、引流管上均安装有流量传感器,所述流量调节阀、各流量传感器均与控制器连接。本实用新型具有提高冲洗效果、减少感染等优点。 | ||||
| 补充信息 | |||||
| 转让方式: | 成熟度: | 预估价值: | |||
| 市场前景: | |||||