样品
成果详情
| 项目简介 | |||||
|---|---|---|---|---|---|
| 技术简介: | |||||
| 专利类型: | 实用新型 | 专利申请号: | CN202022767023.9 | 公开号: | CN214343429U | 
| 专利权人: | 南方医科大学南方医院 | 发明设计人: | 王莉慧;邹莹莹 | ||
| 所属领域: | |||||
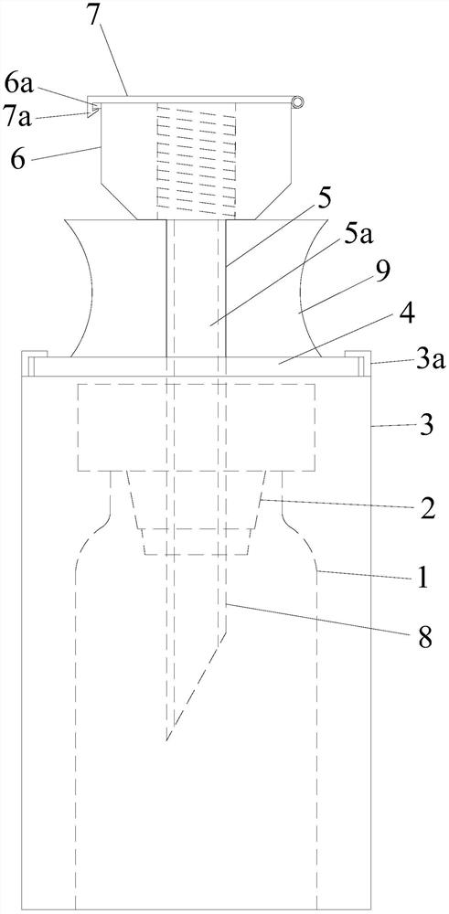
| 摘要: | 本实用新型公开了一种注射用溶酶抽取装置,包括玻璃瓶和塞于玻璃瓶顶部敞口处的橡胶塞,还包括罩在玻璃瓶外的罩体,罩体的上端匹配有上盖,上盖中部上侧有立柱,立柱的上端套装有套管,套管的上端有可打开的盖体,上盖的中部下侧有贯穿橡胶塞伸入玻璃瓶内的尖锐穿刺部,立柱内有与套管内部连通的通道,通道向下贯通上盖及尖锐穿刺部,套管内壁为与注射器乳头螺纹连接的螺纹内壁。本实用新型的注射用溶酶抽取装置降低了操作难度。 | ||||
| 补充信息 | |||||
| 转让方式: | 成熟度: | 预估价值: | |||
| 市场前景: | |||||