样品
成果详情
| 项目简介 | |||||
|---|---|---|---|---|---|
| 技术简介: | |||||
| 专利类型: | 实用新型 | 专利申请号: | CN202021965936.5 | 公开号: | CN213249158U | 
| 专利权人: | 南方医科大学南方医院 | 发明设计人: | 袁志云;黄平;谭乐宜;罗诗玲;刘金燕 | ||
| 所属领域: | |||||
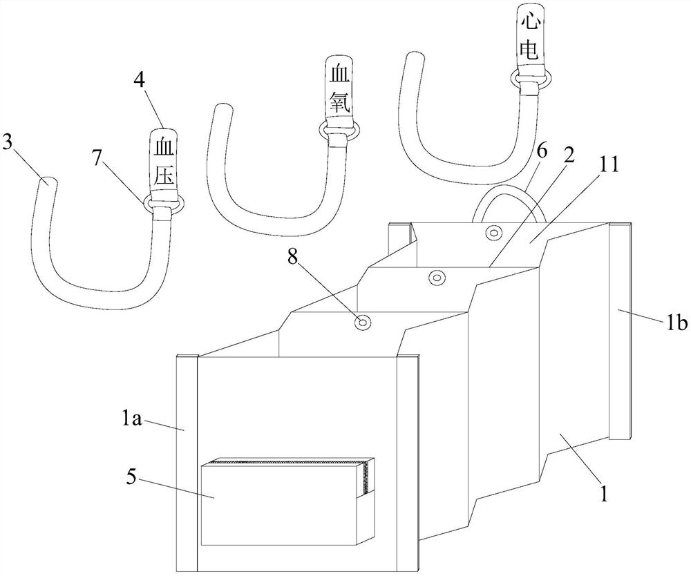
| 摘要: | 本实用新型公开了一种心电导线收纳袋,包括顶部敞口的可伸缩的风琴式袋体,所述风琴式袋体内通过两个分隔件分隔为三个容纳腔,三个容纳腔同侧的侧壁上部均分别可拆卸固定有一魔术贴扎带,三个魔术贴扎带的一端均分别固定有可伸出风琴式袋体顶部外的一标签,风琴式袋体的伸缩方向的一端有电极片收纳袋,风琴式袋体的伸缩方向的另一端固定连接一系带的一端,系带的另一端与风琴式袋体可拆卸固定连接。本实用新型的心电导线收纳袋可以将不同用途的导线分开收纳,避免导线缠绕,方便将导线分开,保证仪器的顺利操作,保证抢救时间,避免导线压在患者身下导致患者不适及引起皮肤压疮。 | ||||
| 补充信息 | |||||
| 转让方式: | 成熟度: | 预估价值: | |||
| 市场前景: | |||||