样品
成果详情
| 项目简介 | |||||
|---|---|---|---|---|---|
| 技术简介: | |||||
| 专利类型: | 实用新型 | 专利申请号: | CN202120138918.8 | 公开号: | CN215915833U |
| 专利权人: | 南方医科大学珠江医院 | 发明设计人: | 朱芳;罗迎霞 | ||
| 所属领域: | |||||
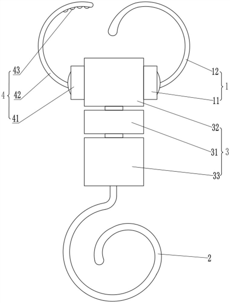
| 摘要: | 本实用新型公开了一种便携式多功能引流袋旋转挂钩,包括内钩和外钩;所述内钩通过一连接件与所述外钩连接,在所述连接件上设有一与所述内钩锁扣配合的活动锁件;所述连接件包括固定块,在所述固定块的顶部以及底部分别通过转轴安装有能够相对该固定块轴旋转的上连接块和下连接块;其中,所述内钩、活动锁件分别安装在所述上连接块的相对两侧端外壁上,所述外钩安装在所述下连接块的底部。本实用新型具有便于携带、适用于多种引流袋、能够根据需求调整悬挂角度、解放双手、降低疾病传播概率的优点。 | ||||
| 补充信息 | |||||
| 转让方式: | 成熟度: | 预估价值: | |||
| 市场前景: | |||||