样品
成果详情
| 项目简介 | |||||
|---|---|---|---|---|---|
| 技术简介: | |||||
| 专利类型: | 实用新型 | 专利申请号: | CN202022448011.X | 公开号: | CN214017620U | 
| 专利权人: | 南方医科大学南方医院 | 发明设计人: | 李涛;梁洁;王玉享;孙晓兰;郝静文;张莉;王谦;陈美华;苏青霞;李婷婷;王凤娥;冯宗凤;陈慧;尹志慧;卢宇宁 | ||
| 所属领域: | |||||
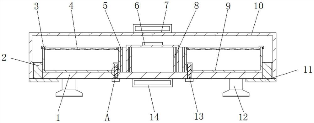
| 摘要: | 本实用新型公开了术中冰冻病理切缘盒,包括底板,所述底板的表面固定连接有外螺纹环,所述外螺纹环的表面螺纹连接有防护罩,所述底板的底部固定连接有挡环,所述底板顶部的中心处固定连接有挡筒,所述底板的顶部且位于挡筒的内腔固定连接有存放筒,所述存放筒的表面螺纹连接有密封盖,所述底板的顶部设置有存放盒,所述存放盒的顶部设置有推拉门,所述推拉门上固定连接有滑框。本实用具备便于使用的优点,解决了现有的术中冰冻病理切缘盒在使用的过程中,对标本的防护效果较差,在运输标本的过程中,标本容易受到外界的污染,不便于根据标本的数量,对存放盒的数量进行调节,容易造成医疗资源的浪费的问题。 | ||||
| 补充信息 | |||||
| 转让方式: | 成熟度: | 预估价值: | |||
| 市场前景: | |||||