样品
成果详情
| 项目简介 | |||||
|---|---|---|---|---|---|
| 技术简介: | |||||
| 专利类型: | 实用新型 | 专利申请号: | CN202221946020.4 | 公开号: | CN218457687U | 
| 专利权人: | 南方医科大学南方医院 | 发明设计人: | 林耿贤;纪婷婷 | ||
| 所属领域: | |||||
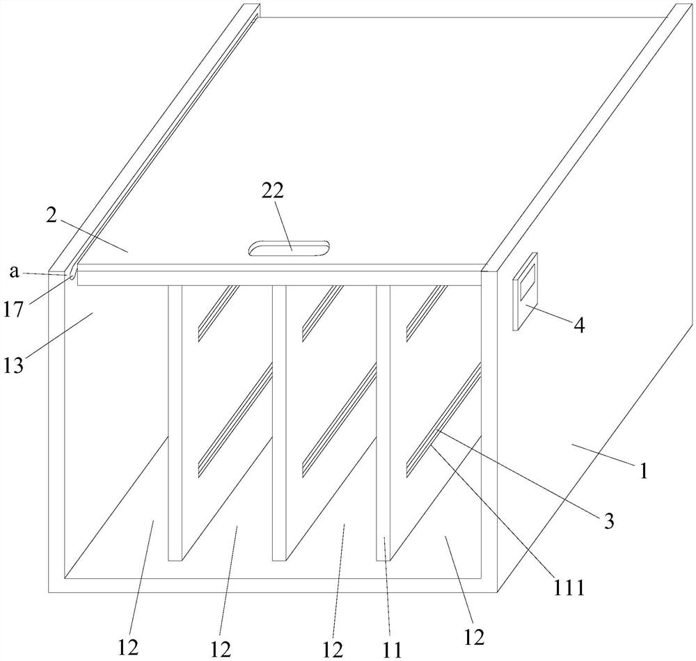
| 摘要: | 本实用新型公开了一种适用于放疗体位固定模具的恒温存放柜,包括一柜体和与柜体匹配的一柜门,所述柜体内通过横向间隔分布的多个竖向隔板分隔为多个用于放置不同病人使用的体位固定模具的隔间,各竖向隔板上安装有可对相邻的两个隔间同时进行消毒的紫外线消毒灯,柜体处还安装有一电动控制单元和给各隔间加热的预加热单元,电动控制单元与预加热单元及各紫外线消毒灯电连接。本实用新型的适用于放疗体位固定模具的恒温存放柜既可预防交叉感染,又降低了成本。 | ||||
| 补充信息 | |||||
| 转让方式: | 成熟度: | 预估价值: | |||
| 市场前景: | |||||