样品
成果详情
| 项目简介 | |||||
|---|---|---|---|---|---|
| 技术简介: | |||||
| 专利类型: | 实用新型 | 专利申请号: | CN202021386330.6 | 公开号: | CN212745890U |
| 专利权人: | 南方医科大学南方医院 | 发明设计人: | 赖洪练 | ||
| 所属领域: | |||||
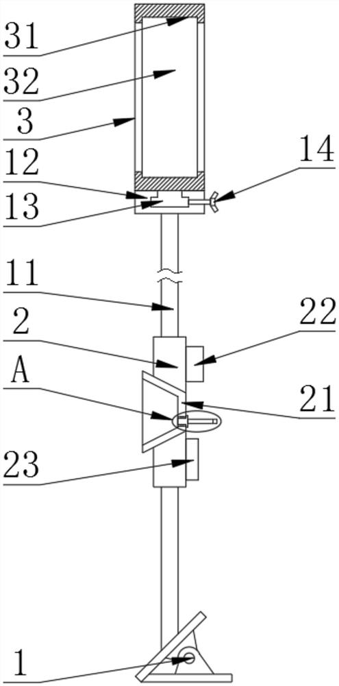
| 摘要: | 本实用新型公开了一种方便新生儿病房拍摄婴儿的支架,具体涉及相机固定架技术领域,包括金属底夹,所述金属底夹顶部镶嵌有对称分布的两个软管,两个所述软管底部之间粘接有方板,所述方板一侧开设的圆台孔内粘接有真空吸盘。本实用新型的金属底夹可将支架夹在温箱上,来减小支架的占地空间,真空吸盘在微型真空泵的作用下会牢牢的将支架吸附在温箱上,使支架受到碰撞后也不会发生移动,从而对支架上相机进行保护,软管与懒人支架的软管相同,使操作者可以根据使用需求弯曲软管,固定方架还可在固定板上转动,便于操作者调节相机在支架上的角度,整体上支架既可以吸附在温箱上又可以夹在温箱上,使用较为方便,提高了支架的实用性。 | ||||
| 补充信息 | |||||
| 转让方式: | 成熟度: | 预估价值: | |||
| 市场前景: | |||||