样品
成果详情
| 项目简介 | |||||
|---|---|---|---|---|---|
| 技术简介: | |||||
| 专利类型: | 发明 | 专利申请号: | CN202010204255.5 | 公开号: | CN111329602A |
| 专利权人: | 南方医科大学南方医院 | 发明设计人: | 陈佩娟;张睿;王丽;贾海娜;何莲;侯晓敏 | ||
| 所属领域: | |||||
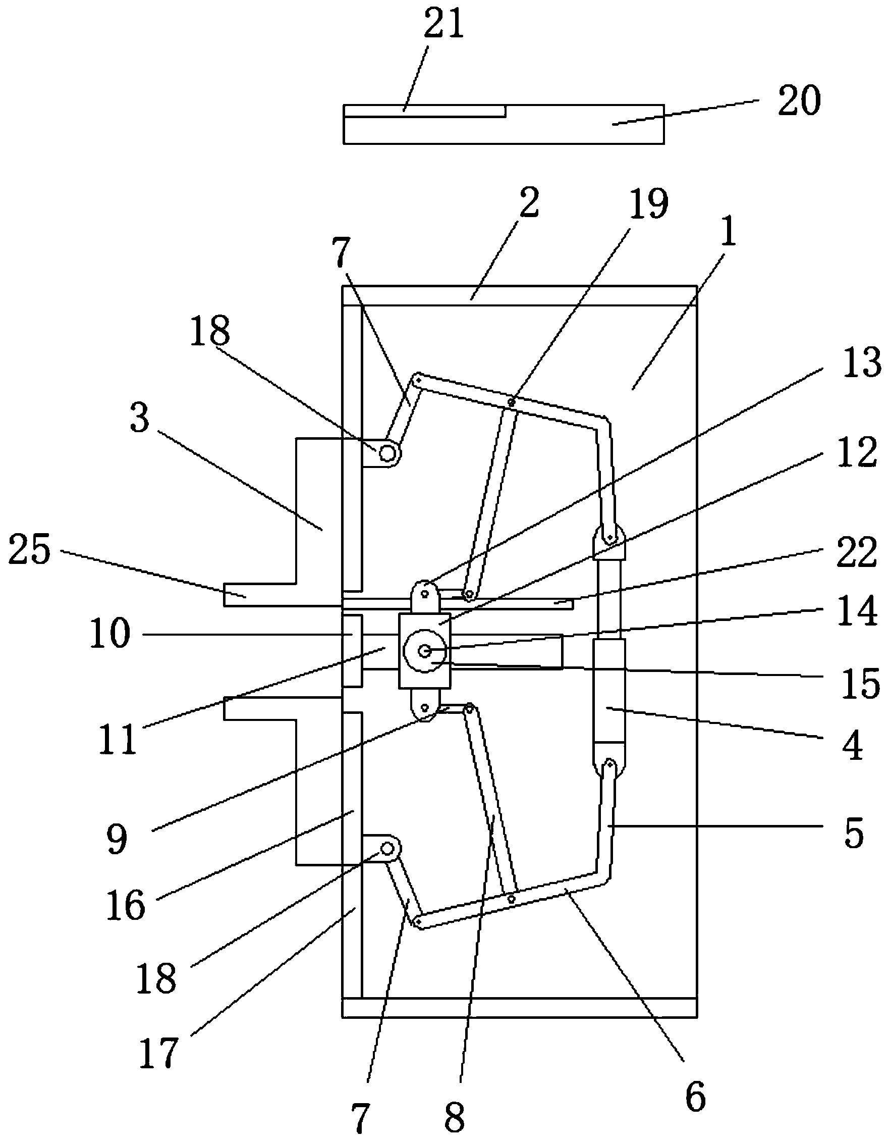
| 摘要: | 本发明公开了一种口腔护理用辅助张口装置,它包含两块平行设置的侧板(1),两块侧板(1)的上下两端分别通过顶板(2)固定连接成一体,两块侧板(1)一侧的开口处设置有上下对称设置的张口支架(3),两块侧板的内部设置有驱动张口支架(3)开合的驱动装置,两块侧板(1)的下方设置有集液装置;所述的驱动装置包含一根电动推杆(4),该电动推杆(4)的两端分别安装有与其转动连接配合的第一驱动杆(5)。本发明结构简单,能够根据患者目前的张口程度由医护人员自行调整下一阶段张口程度的护理,提高了整体的工作效率和适用性,同时在张口锻炼过程中所产生的涎水会直接流入积液盒中,便于后期的清洁工作,大大的降低了医护人员的护理强度。 | ||||
| 补充信息 | |||||
| 转让方式: | 成熟度: | 预估价值: | |||
| 市场前景: | |||||