样品
成果详情
| 项目简介 | |||||
|---|---|---|---|---|---|
| 技术简介: | |||||
| 专利类型: | 实用新型 | 专利申请号: | CN202021023193.X | 公开号: | CN212817021U |
| 专利权人: | 南方医科大学南方医院 | 发明设计人: | 谢红燕;成姚;邱蓉;李冰 | ||
| 所属领域: | |||||
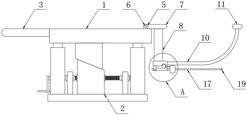
| 摘要: | 本实用新型公开了一种PICC置管用床架,具体涉及医疗用具技术领域,包括床体,所述床体底部固定设有床底座组件,所述床体一侧固定设有手臂支撑板,所述床体远离手臂支撑板一侧设有支撑架组件;所述支撑架组件包括第一固定座,所述第一固定座固定设于床体远离手臂支撑板一侧顶部,所述第一固定座上贯穿设有第一横杆,本实用新型通过弧形连接杆支撑起无菌巾,使无菌巾就不会搭在病人的脸上身上,病人还可以轻微活动,不会影响PICC操作,病人的舒适度会提高,通过第二连接板和压条夹紧无菌巾边缘,并利用滑动球重力作用下配合杠杆原理,使无菌巾固定效果非常好,不会滑落,避免了之前建立的无菌的环境被破坏。 | ||||
| 补充信息 | |||||
| 转让方式: | 成熟度: | 预估价值: | |||
| 市场前景: | |||||