样品
成果详情
| 项目简介 | |||||
|---|---|---|---|---|---|
| 技术简介: | |||||
| 专利类型: | 实用新型 | 专利申请号: | CN202220342865.6 | 公开号: | CN216940915U |
| 专利权人: | 南方医科大学珠江医院 | 发明设计人: | 刘卫;宋霞梅;钟春霞 | ||
| 所属领域: | |||||
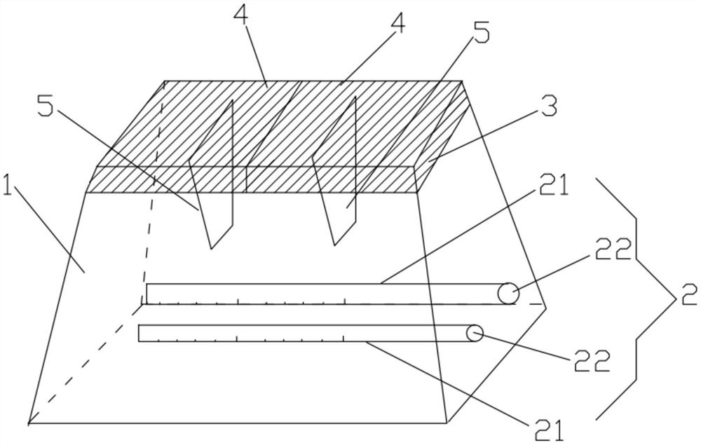
| 摘要: | 本实用新型公开了一种可视导管尖端修剪器,包括一透明壳体,在所述壳体中部设有切割区,且所述切割区内设置有一条或多条导管通道,所述壳体顶部设置有开口部,所述开口部上方固接有至少一个按压头,所述按压头下方固设有刀片,所述刀片的刀刃朝向所述切割区且与所述导管通道的延伸方向相交;所述按压头上还设有用于将所述刀片保持在所述壳体中远离所述切割区位置的弹性部件;所述导管通道上设有可使所述刀片进行定位的刻度且所述刀片的所述刀刃切口与所述导管通道上的刻度相对齐。本实用新型既能提高修剪导管长度时的精准度,还能增加修剪后的导管横截面的光滑度,而且结构简单,操作方便。 | ||||
| 补充信息 | |||||
| 转让方式: | 成熟度: | 预估价值: | |||
| 市场前景: | |||||