样品
成果详情
| 项目简介 | |||||
|---|---|---|---|---|---|
| 技术简介: | |||||
| 专利类型: | 实用新型 | 专利申请号: | CN202223125695.5 | 公开号: | CN219021930U |
| 专利权人: | 南方医科大学珠江医院 | 发明设计人: | 林静纯;钱俊;姜雯频;黄春容;李彩凤 | ||
| 所属领域: | |||||
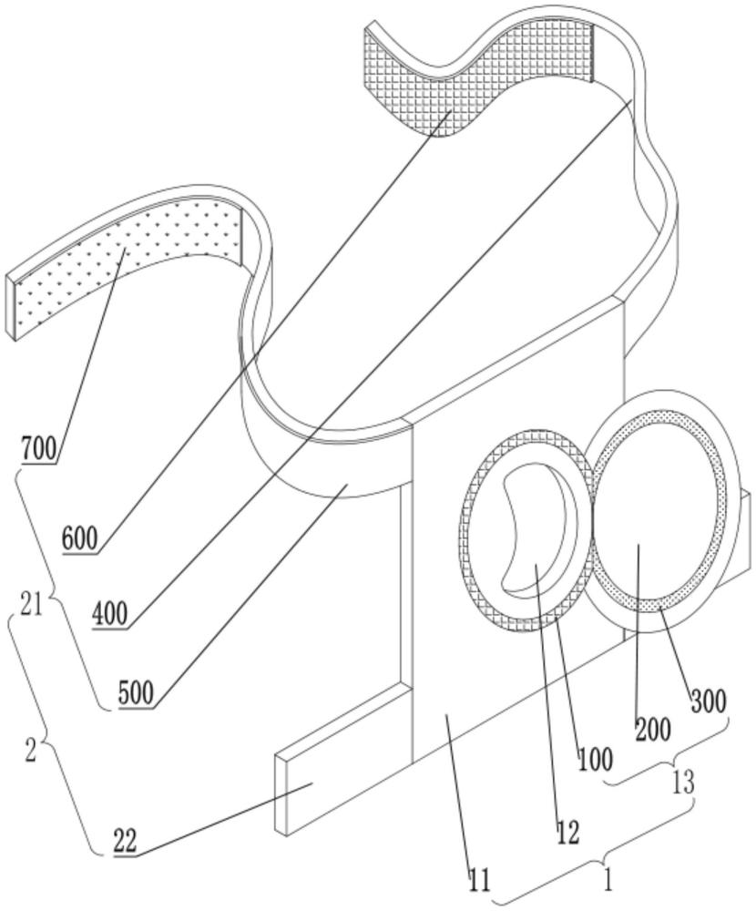
| 摘要: | 本实用新型公开了一种耳科创口敷料贴结构,包括敷料贴;所述敷料贴包括套设在患者术耳上并能够贴敷在患者术耳的外部的带有一开口用于供患者术耳伸出的敷料贴本体,在所述敷料贴本体上且位于所述开口的外部可拆卸设有一用于包覆所述该开口的遮挡组件;还在所述敷料贴本体上设有一用于将该敷料贴本体可拆卸固定在患者头部上的固定组件。本实用新型具有便于对患者术耳进行包扎固定且固定稳固可靠、防护效果好、便于医护人员查看患者术耳以及进行滴药治疗、能够有效减少医护人员工作量的优点。 | ||||
| 补充信息 | |||||
| 转让方式: | 成熟度: | 预估价值: | |||
| 市场前景: | |||||