样品
成果详情
| 项目简介 | |||||
|---|---|---|---|---|---|
| 技术简介: | |||||
| 专利类型: | 实用新型 | 专利申请号: | CN202121813537.1 | 公开号: | CN214807274U | 
| 专利权人: | 南方医科大学南方医院 | 发明设计人: | 杨孟琴 | ||
| 所属领域: | |||||
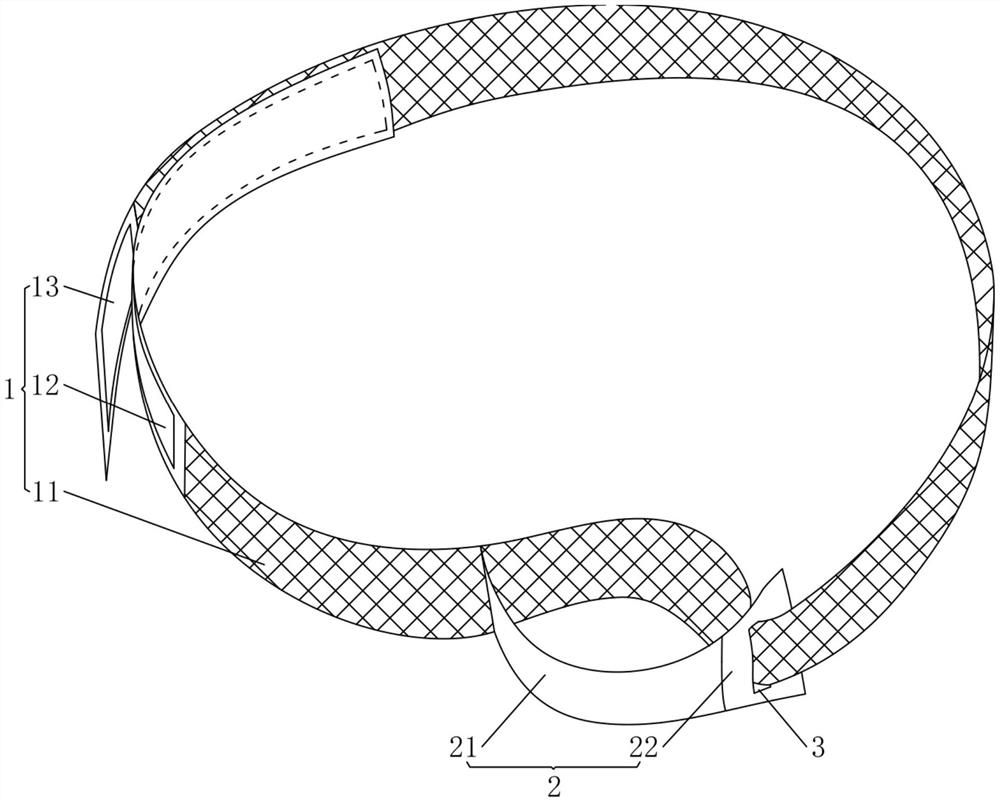
| 摘要: | 本实用新型公开了股静脉透析管固定带,包括用于绑住人体的绑体带,所述绑体带上设有用于绑住透析管的绑管带,所述绑管带一端与绑体带固定连接且该绑管带另一端设有开口,在使用时所述绑体带一端穿过开口后与该绑体带另一端可拆卸连接形成能够将透析管固定在人体上的结构。本实用新型透气性好、舒适度高,适用于对粘胶过敏的患者。 | ||||
| 补充信息 | |||||
| 转让方式: | 成熟度: | 预估价值: | |||
| 市场前景: | |||||