样品
成果详情
| 项目简介 | |||||
|---|---|---|---|---|---|
| 技术简介: | |||||
| 专利类型: | 实用新型 | 专利申请号: | CN201621017392.3 | 公开号: | CN206381270U |
| 专利权人: | 南方医科大学珠江医院 | 发明设计人: | 甘华秀;姜雯频;郑静;朱瑶 | ||
| 所属领域: | |||||
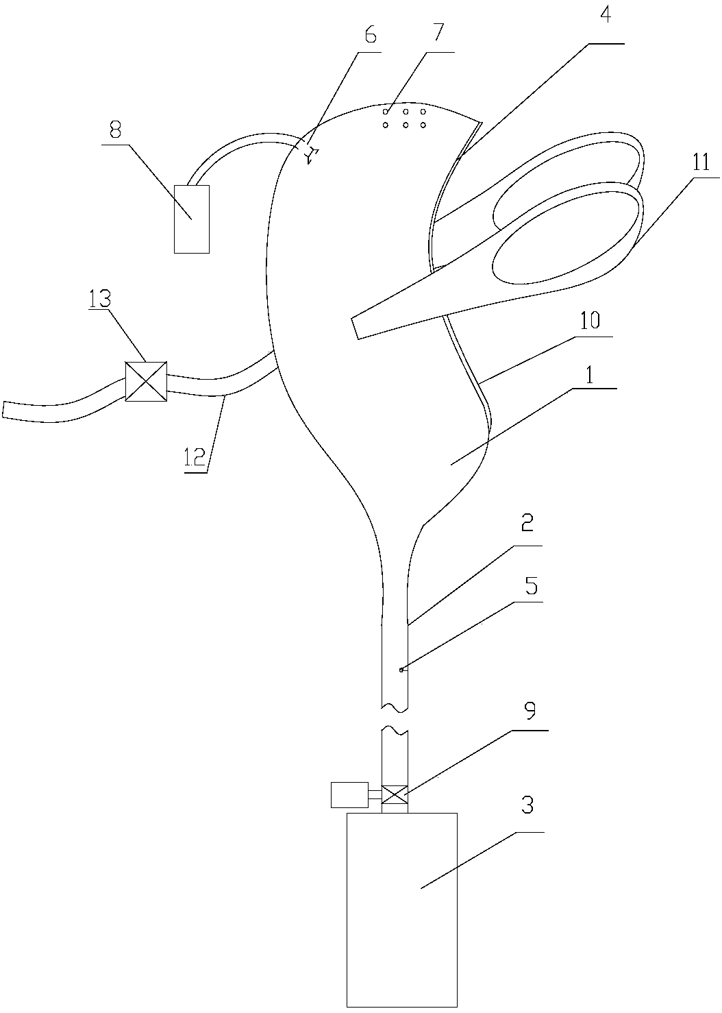
| 摘要: | 本实用新型公开了一种用于昏迷女性卧床患者的电动感应接尿器,包括用于与女性外阴配合的罩体,所述的罩体的下端连接有引尿管,所述的罩体上开口,所述的引尿管内设有传感器,所述的引尿管的末端连接有集液容器,所述的引尿管和集液容器之间设有抽液泵,所述的罩体的上部设有电动喷雾头,所述的电动喷雾头连接至控制器,所述的罩体的顶部设有透气孔,所述的电动喷雾头连接至一储液容器,所述的储液容器内存储有抑菌液,所述的开口的边缘设有硅胶贴片,所述的罩体设有绑带,所述的罩体设有管道,所述的管道设真空泵。本实用新型的目的在于提供一种使用方便、反应灵敏、排尿迅速且能够防止局部皮肤红肿溃烂的用于昏迷女性卧床患者的电动感应接尿器。 | ||||
| 补充信息 | |||||
| 转让方式: | 成熟度: | 预估价值: | |||
| 市场前景: | |||||