样品
成果详情
| 项目简介 | |||||
|---|---|---|---|---|---|
| 技术简介: | |||||
| 专利类型: | 实用新型 | 专利申请号: | CN202222355427.6 | 公开号: | CN218451843U |
| 专利权人: | 南方医科大学南方医院 | 发明设计人: | 李青霞;兰丽君;李斌;吴宏云;陈怡;刘东杰 | ||
| 所属领域: | |||||
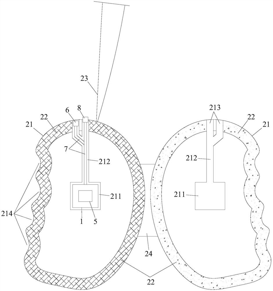
| 摘要: | 本实用新型公开了一种动静脉内瘘功能锻炼握力球,包括弹性体外壳和位于弹性体外壳内部的硬质内壳,硬质内壳内有微处理器和电池,硬质内壳的表面分布有压力传感器,弹性体外壳的一端设置有蜂鸣器,蜂鸣器、压力传感器和电池均与微处理器电连接,所述弹性体外壳于中间对半分为两个弹性椭圆半球壳,两个弹性椭圆半球壳相对的表面通过魔术贴结构粘接固定形成形状和大小均近似肾脏的弹性体外壳,硬质内壳位于两个弹性椭圆半球壳之间。本实用新型的动静脉内瘘功能锻炼握力球方便拆分两个弹性椭圆半球壳,从而方便更换电池。 | ||||
| 补充信息 | |||||
| 转让方式: | 成熟度: | 预估价值: | |||
| 市场前景: | |||||