样品
成果详情
| 项目简介 | |||||
|---|---|---|---|---|---|
| 技术简介: | |||||
| 专利类型: | 发明 | 专利申请号: | CN201310334248.7 | 公开号: | CN103364753B |
| 专利权人: | 南方医科大学 | 发明设计人: | 康立丽;张丽媛;贺杰禹 | ||
| 所属领域: | |||||
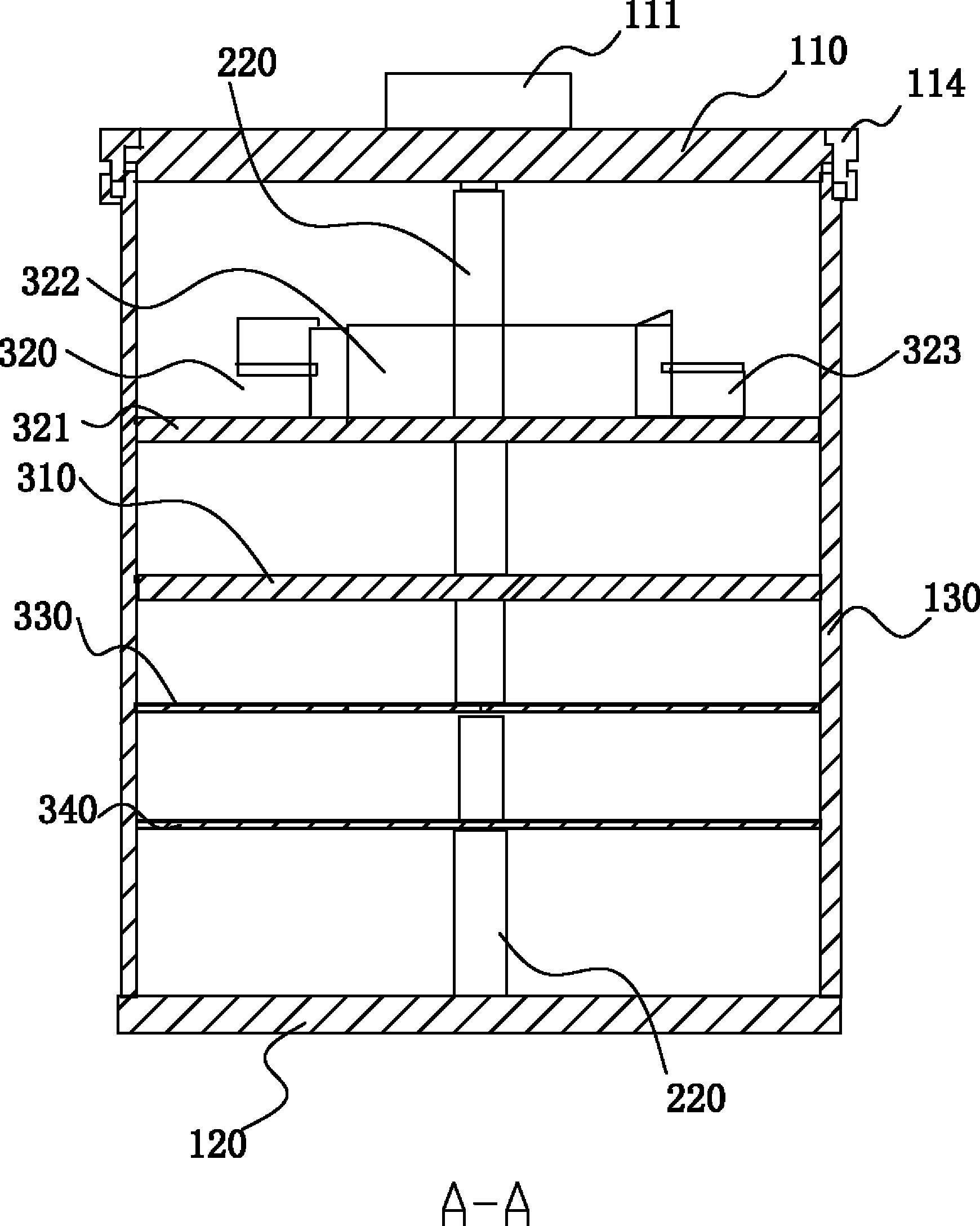
| 摘要: | 一种磁共振质量控制多参数测试体模,设置有壳体、多个测试层和定位构件;所述壳体设置有上密封盖、下密封盖和侧壁,所述上密封盖、所述下密封盖密封装配于所述侧壁的两端;所述定位构件设置有圆棒和与所述圆棒相匹配的套管;每个所述测试层均设置有与所述圆棒相匹配的通孔,所述测试层通过各自设置的通孔穿设于所述圆棒,相邻两个测试层之间的圆棒上均套设有套管以将相邻的两个测试层隔开,最外两测试层分别距离上密封盖和下密封盖的圆棒上套设有套管,所述圆棒的两端分别固定装配于所述上密封盖和所述下密封盖。该磁共振质量控制多参数测试体模能同时测试多种参数、精度高、模块化强且测试层可灵活组合,并可以通过套管的选择调节测试层之间的间距,还可以灵活更换测试层。 | ||||
| 补充信息 | |||||
| 转让方式: | 成熟度: | 预估价值: | |||
| 市场前景: | |||||