样品
成果详情
| 项目简介 | |||||
|---|---|---|---|---|---|
| 技术简介: | |||||
| 专利类型: | 实用新型 | 专利申请号: | CN202122724414.7 | 公开号: | CN216934262U |
| 专利权人: | 南方医科大学珠江医院 | 发明设计人: | 雷莉;易篪华;王方圆;廖荣荣 | ||
| 所属领域: | |||||
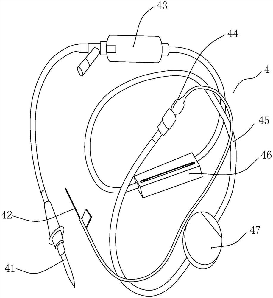
| 摘要: | 本实用新型涉及一种流速调节开关及包括该流速调节开关的输液器,其中一种流速调节开关,包括调节器本体,调节器本体包括壳体和滚轮,滚轮的中心设有滚轴,壳体上还设有供软管穿过的管槽;滚轮全包围在壳体内,壳体的一内侧面开设有供滚轴滚动的滑动盲槽,与滑动盲槽相对的壳体内侧面上开设有滑动盲槽以及供滚轴滚动的滑动通槽;位于滚轮一侧的滚轴活动于滑动盲槽内,位于滚轴另一侧的滚轴活动于滑动通槽内,位于滑动通槽内的滚轴中空形成非圆中空槽,且滑动通槽的宽度大于中空槽的槽宽、小于滚轴轴径;中空槽内插设有手持件,手持件位于滚轴中空槽内的部分与中空槽形状相匹配,手持件位于中空槽内时,手持件转动带动滚轮滚动。本实用新型能有效解决现有流速调节开关无法避免患者私自调节流速的问题。 | ||||
| 补充信息 | |||||
| 转让方式: | 成熟度: | 预估价值: | |||
| 市场前景: | |||||