样品
成果详情
项目简介 | |||||
---|---|---|---|---|---|
技术简介: | |||||
专利类型: | 实用新型 | 专利申请号: | CN202121439486.0 | 公开号: | CN215688193U |
专利权人: | 南方医科大学南方医院 | 发明设计人: | 李也;张凯;罗小琴 | ||
所属领域: | |||||
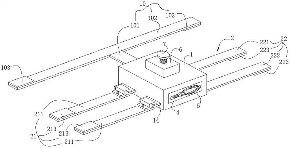
摘要: | 本实用新型公开了一种用于腹股沟手术后的止血装置,包括一中空的收纳壳体、多根束缚带和止血沙袋,多根束缚带可拆卸式的设置于收纳壳体的两端;收纳壳体上开设有一收纳口,收纳口处设置有一拉链,当拉链将收纳口打开后,止血沙袋设置于收纳壳体的内部空间;收纳壳体上部设置有一个与所止血沙袋相对应的固定座,固定座上开设有螺纹孔,螺纹孔内设置有与一根螺纹孔的内螺纹相互啮合的螺纹转动杆,螺纹转动杆的上部位于所述收纳壳体外,其下部延伸至所述收纳壳体内,该螺纹转动杆下部设置有一与止血沙袋相互抵触的圆形压板,本实施例提供的用于腹股沟手术后的止血装置,能满足使用者对止血装置压迫效果好及功能多样化的需求。 | ||||
补充信息 | |||||
转让方式: | 成熟度: | 预估价值: | |||
市场前景: |