样品
成果详情
| 项目简介 | |||||
|---|---|---|---|---|---|
| 技术简介: | |||||
| 专利类型: | 实用新型 | 专利申请号: | CN201420259797.2 | 公开号: | CN203915050U |
| 专利权人: | 南方医科大学 | 发明设计人: | 钱蕾;李鹏;吴卫东;房亚峰;张晋元;欧阳钧 | ||
| 所属领域: | |||||
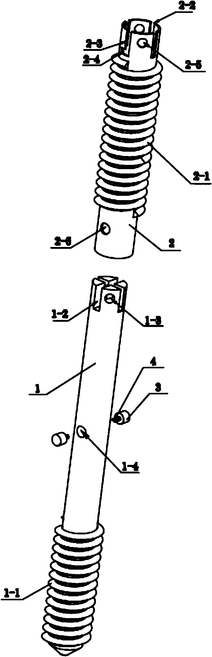
| 摘要: | 本实用新型涉及一种椎弓根延长装置,该装置由芯杆、套在芯杆上的套杆以及设在芯杆和套杆之间的锁定机构组成,其中,所述芯杆的前端以及套杆的中部设有自攻螺纹,所述套杆套在芯杆的自攻螺纹的后端的部分上;所述芯杆的后端以及套杆的后端均设有用于与螺丝刀的头部相匹配的开口,芯杆上的开口和套杆上的开口相重合;所述锁定机构由弹簧、锁定头以及锁定孔构成,其中,所述芯杆的外壁上设有安装槽,所述弹簧和锁定头设置在该安装槽内,弹簧的一端与安装槽连接,另一端与锁定头连接,所述锁定孔设置在套杆上且与锁定头相匹配。本装置具有部件少、离断操作简便、定位准确且可靠的优点。 | ||||
| 补充信息 | |||||
| 转让方式: | 成熟度: | 预估价值: | |||
| 市场前景: | |||||