样品
成果详情
| 项目简介 | |||||
|---|---|---|---|---|---|
| 技术简介: | |||||
| 专利类型: | 实用新型 | 专利申请号: | CN202023201586.8 | 公开号: | CN215307653U |
| 专利权人: | 南方医科大学南方医院 | 发明设计人: | 朱镇涛;朱顺芳;瓮炳南;李惠 | ||
| 所属领域: | |||||
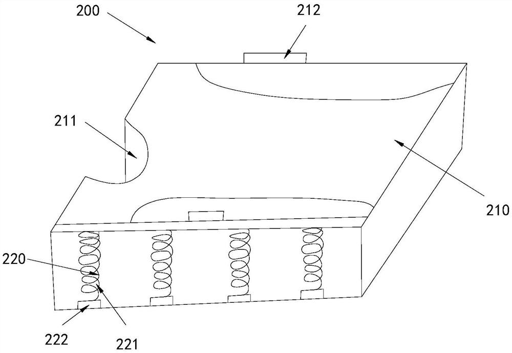
| 摘要: | 本实用新型公开了一种俯卧位通气排痰震动垫,包括:头部枕垫组件、躯干枕垫组件以及下肢枕垫组件,头部枕垫组件包括第一垫体,第一垫体用于支撑头部,躯干枕垫组件包括第二垫体和震动组件,第二垫体用于支撑躯干部,第二垫体承接肩部的部分为前端,第二垫体的前端设置有第一凹槽,震动组件安装在第二垫体内,震动组件包括弹性件和驱动件,驱动件带动弹性件震动,并使第二垫体震动,下肢枕垫组件包括第三垫体,第三垫体用于支撑下肢部,此俯卧位通气排痰震动垫可以充分暴露出气管插管以及气管切开的位置,帮助患者更舒适的进行俯卧位通气以及俯卧位排痰,同时增加震动组件,增加胸部扣击,有利于痰液更好排出。 | ||||
| 补充信息 | |||||
| 转让方式: | 成熟度: | 预估价值: | |||
| 市场前景: | |||||