样品
成果详情
| 项目简介 | |||||
|---|---|---|---|---|---|
| 技术简介: | |||||
| 专利类型: | 实用新型 | 专利申请号: | CN202420205281.3 | 公开号: | CN221450783U |
| 专利权人: | 南方医科大学珠江医院 | 发明设计人: | 叶宇;廖荣荣;吴蓉;许旺 | ||
| 所属领域: | |||||
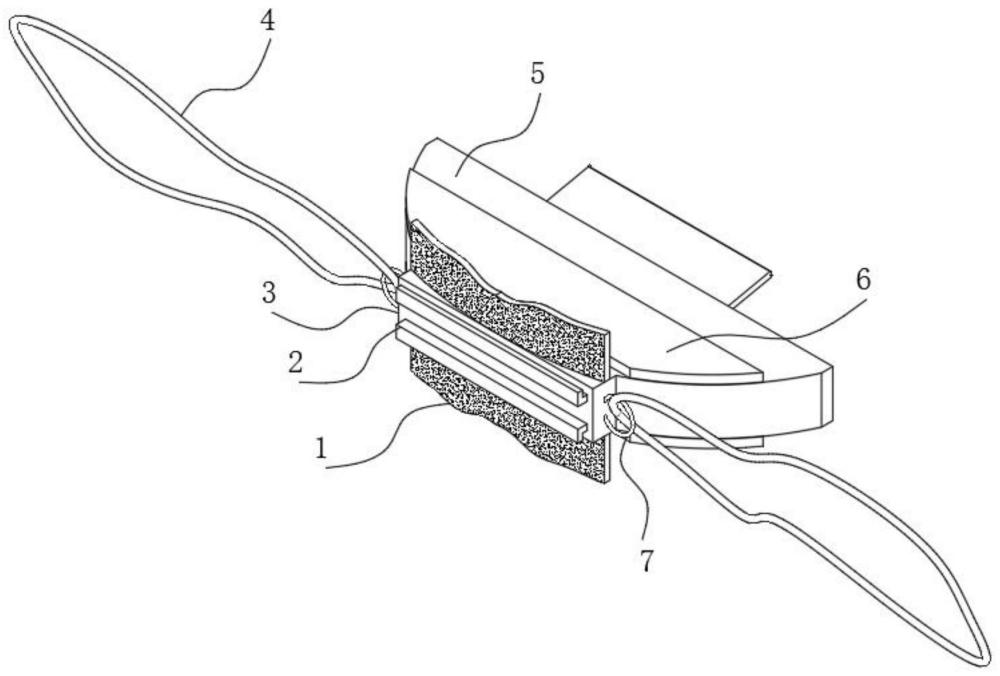
| 摘要: | 本实用新型公开了一种医用口罩式防咬舌牙垫,包括置于牙齿中间的壳体,所述壳体内部上下两侧均开设有直槽,所述直槽一侧开设有斜槽并且与直槽相连通,所述直槽和斜槽贯穿整个壳体,所述直槽内部设置有压舌板,所述压舌板自直槽端插入再经历过斜槽弯曲向上的延伸出壳体外侧,通过把本实用新型放入患者两齿之间,壳体的设计有两层中空夹层,通往内端处的夹层为梯形坡度设计也就是斜槽,可以使其中一个压舌板插入直槽后经过斜槽下翘压住舌底下方,再把另一个压舌板插入直槽后经过斜槽上翘,固定在舌面上方,通过两个压舌板固定整个舌头,并且压舌板的第一限位板设计也就是L型设置,在壳体外端垂直,防止压舌板整体过度插入。 | ||||
| 补充信息 | |||||
| 转让方式: | 成熟度: | 预估价值: | |||
| 市场前景: | |||||