样品
成果详情
| 项目简介 | |||||
|---|---|---|---|---|---|
| 技术简介: | |||||
| 专利类型: | 实用新型 | 专利申请号: | CN202021280709.9 | 公开号: | CN213550463U |
| 专利权人: | 南方医科大学南方医院 | 发明设计人: | 郭萍;黄榕;曾灿辉;范嘉仪;刘映晨 | ||
| 所属领域: | |||||
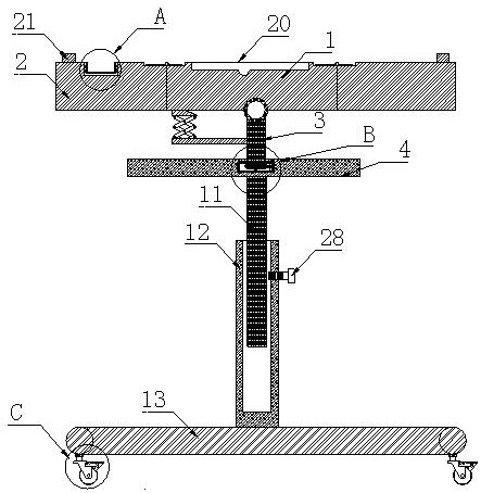
| 摘要: | 本实用新型公开了一种移动式多功能桌,具体涉及桌子领域,包括第一桌板,所述第一桌板两侧均设置有第二桌板,所述第一桌板与第二桌板铰接固定,所述第一桌板底部设置有旋转杆,所述转转杆与第一桌板活动连接,所述旋转杆一端活动设置有调节板,所述调节板内部设置有旋转机构,所述旋转机构包括保护箱,所述保护箱内部设置有旋转槽,所述旋转槽内部设置有固定杆,所述滚动杆外侧活动设置有小齿轮,所述小齿轮一侧设置有大齿轮。本实用新型通过移动机构,支撑杆与紧固丝杆,第一桌板与第二桌板铰接固定,旋转机构,可满足五个一体化的功能效果,大大提高了医护人员的工作效率。 | ||||
| 补充信息 | |||||
| 转让方式: | 成熟度: | 预估价值: | |||
| 市场前景: | |||||