样品
成果详情
| 项目简介 | |||||
|---|---|---|---|---|---|
| 技术简介: | |||||
| 专利类型: | 实用新型 | 专利申请号: | CN202020735403.1 | 公开号: | CN212730183U | 
| 专利权人: | 南方医科大学南方医院 | 发明设计人: | 王莉慧;陈佩娟;文红 | ||
| 所属领域: | |||||
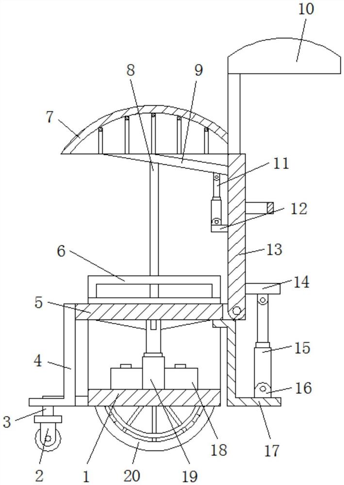
| 摘要: | 本实用新型公开了平车轮椅一体装置,包括固定座,所述固定座后侧的顶部固定连接有输液架,所述固定座的前后两侧均通过轴承活动连接有移动轮,所述固定座左侧的前后两侧均固定连接有固定杆,所述固定杆远离固定座的一端固定连接有支撑轮,所述固定座内壁底部的后侧固定连接有蓄电池,所述固定座内壁底部的中心处固定连接有第一电动伸缩杆,所述第一电动伸缩杆的顶部固定连接有座板。本实用具备多功能的优点,解决了现有的轮椅功能单一,不能转换为平车装置进行使用,医院中的轮椅和平车需要分类存放,增加了医用的存放面积,轮椅不便于升降和调节轮椅靠背的角度,影响病人的使用,当病人出行时,不便于遮阳挡雨的问题。 | ||||
| 补充信息 | |||||
| 转让方式: | 成熟度: | 预估价值: | |||
| 市场前景: | |||||