样品
成果详情
| 项目简介 | |||||
|---|---|---|---|---|---|
| 技术简介: | |||||
| 专利类型: | 实用新型 | 专利申请号: | CN201920519097.5 | 公开号: | CN210672177U |
| 专利权人: | 南方医科大学 | 发明设计人: | 秦芳;陈颖珊;崔颖;张雨微;王佳宁;陈炼萍 | ||
| 所属领域: | |||||
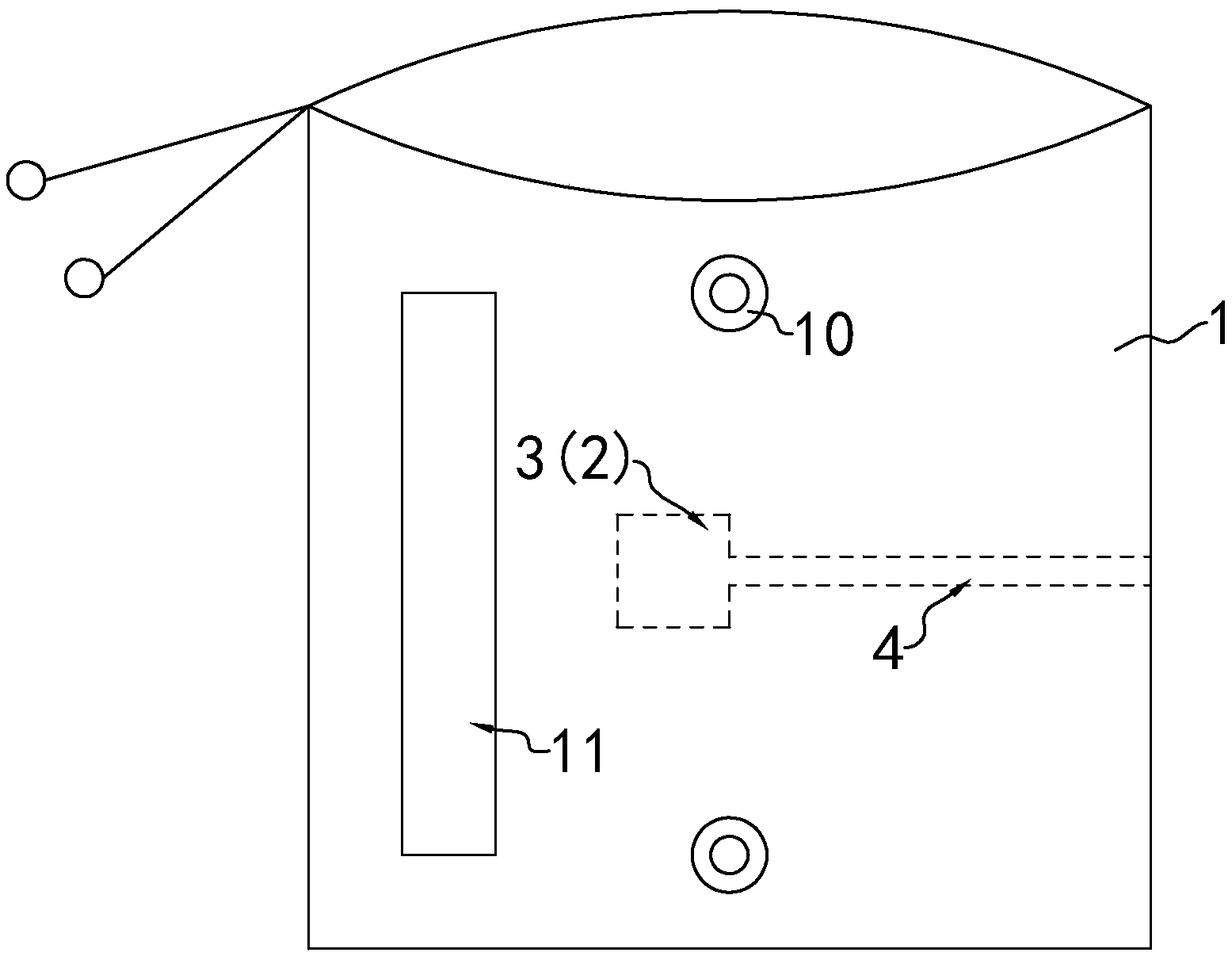
| 摘要: | 本实用新型公开了一种肠造口病人护理服,包括容器,容器包括袋体和监测装置,监测装置包括红外传感器和压力传感器;红外传感器包括发射器和接收器,发射器向袋体内发射红外线,接收器监测发射器所发出的红外线;发射器和接收器分别设在袋体的相对的两侧,压力传感器设在袋体的一侧。有益效果:当红外传感器或压力传感器检测出袋体的内容物液面高度或压力达到预设值时,监测装置向病人发出警报,提醒病人留意袋体的内容物的情况,有利于防止排泄物满溢。本实用新型涉及医用护理服装。 | ||||
| 补充信息 | |||||
| 转让方式: | 成熟度: | 预估价值: | |||
| 市场前景: | |||||