样品
成果详情
| 项目简介 | |||||
|---|---|---|---|---|---|
| 技术简介: | |||||
| 专利类型: | 实用新型 | 专利申请号: | CN202021183662.4 | 公开号: | CN213312923U |
| 专利权人: | 南方医科大学珠江医院 | 发明设计人: | 石红梅;韩越;欧阳国辉 | ||
| 所属领域: | |||||
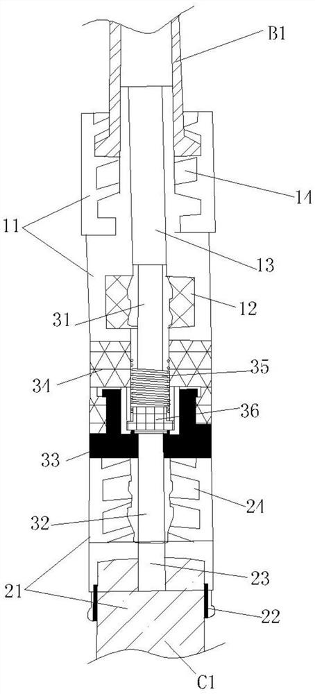
| 摘要: | 本实用新型公开了一种一体化一次性使用带固定装置无菌连接头,与留置针的导管和引流袋的导管连接并用于完成胸、腹腔引流,包括有第一接头、第二接头和单向阀,所述单向阀设于第一接头和第二接头中间,所述第一接头连接留置针的导管,所述第二接头连接引流袋的导管,通过单向阀控制液体流向,采用无菌连接头后,无需再采用胶布连接留置针和引流袋,给医护人员带来了便捷,且减小了患者细菌感染的机率。 | ||||
| 补充信息 | |||||
| 转让方式: | 成熟度: | 预估价值: | |||
| 市场前景: | |||||