样品
成果详情
| 项目简介 | |||||
|---|---|---|---|---|---|
| 技术简介: | |||||
| 专利类型: | 实用新型 | 专利申请号: | CN201921137780.9 | 公开号: | CN210992063U |
| 专利权人: | 南方医科大学南方医院 | 发明设计人: | 陈泽纯;黄榕;郭亚云;宋洁;范嘉仪;郭萍 | ||
| 所属领域: | |||||
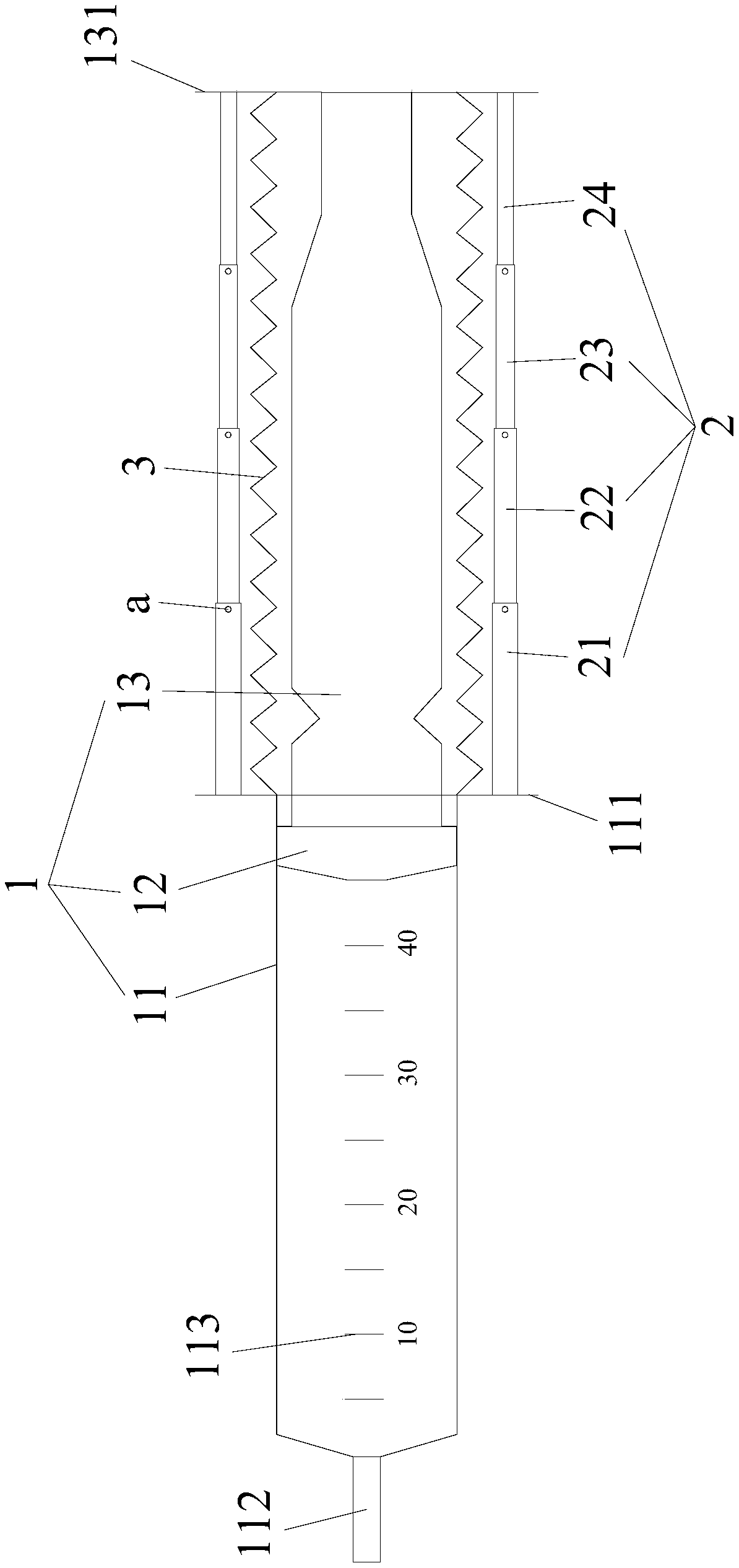
| 摘要: | 本实用新型公开了一种医用计量简易负压吸引器,包括注射器,注射器包括筒体、装于筒体内的活塞和推杆,推杆的前端固定连接至活塞,推杆的后端固定连接有推拉板,筒体的后端固定连接有翼板,筒体上印有刻度,筒体的前端有进液接口,所述翼板和推拉板之间连接有能够伸长定位以及能够回缩的伸缩杆件,伸缩杆件位于推杆的外围并能够跟随推杆同步伸缩移动。本实用新型的医用计量简易负压吸引器可避免引流出来的液体反流回去造成感染。 | ||||
| 补充信息 | |||||
| 转让方式: | 成熟度: | 预估价值: | |||
| 市场前景: | |||||