样品
成果详情
| 项目简介 | |||||
|---|---|---|---|---|---|
| 技术简介: | |||||
| 专利类型: | 实用新型 | 专利申请号: | CN202221012324.3 | 公开号: | CN217489111U |
| 专利权人: | 南方医科大学南方医院 | 发明设计人: | 周惠霞;李娟华 | ||
| 所属领域: | |||||
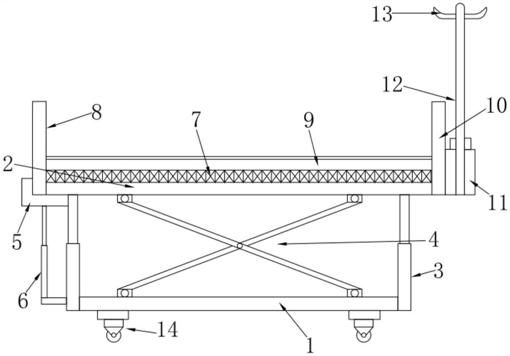
| 摘要: | 本实用新型涉及转运车技术领域的安全型转运车,包括底板、四组升降筒、两组支撑连杆和躺板,升降筒的下端安装于底板的四个角,升降筒的上端固定安装于躺板下端的四个角,支撑连杆安装于底板与躺板之间,所述躺板的上端设有软垫,软垫可拆卸地安装于躺板的上端,躺板的周围设有外挡板,外挡板由前挡板、两块侧挡板和后挡板构成,其中一块侧挡板的外侧设有卷筒,卷筒焊接安装于侧挡板的外侧,卷筒内安装有帆布卷,帆布卷通过转轴安装于卷筒内,其更加安全,防寒保暖,避免摔伤,且能够有效地保护隐私,挡风遮雨。 | ||||
| 补充信息 | |||||
| 转让方式: | 成熟度: | 预估价值: | |||
| 市场前景: | |||||