样品
成果详情
| 项目简介 | |||||
|---|---|---|---|---|---|
| 技术简介: | |||||
| 专利类型: | 实用新型 | 专利申请号: | CN201921655599.7 | 公开号: | CN211095773U |
| 专利权人: | 南方医科大学珠江医院 | 发明设计人: | 黄莉;黄晓群 | ||
| 所属领域: | |||||
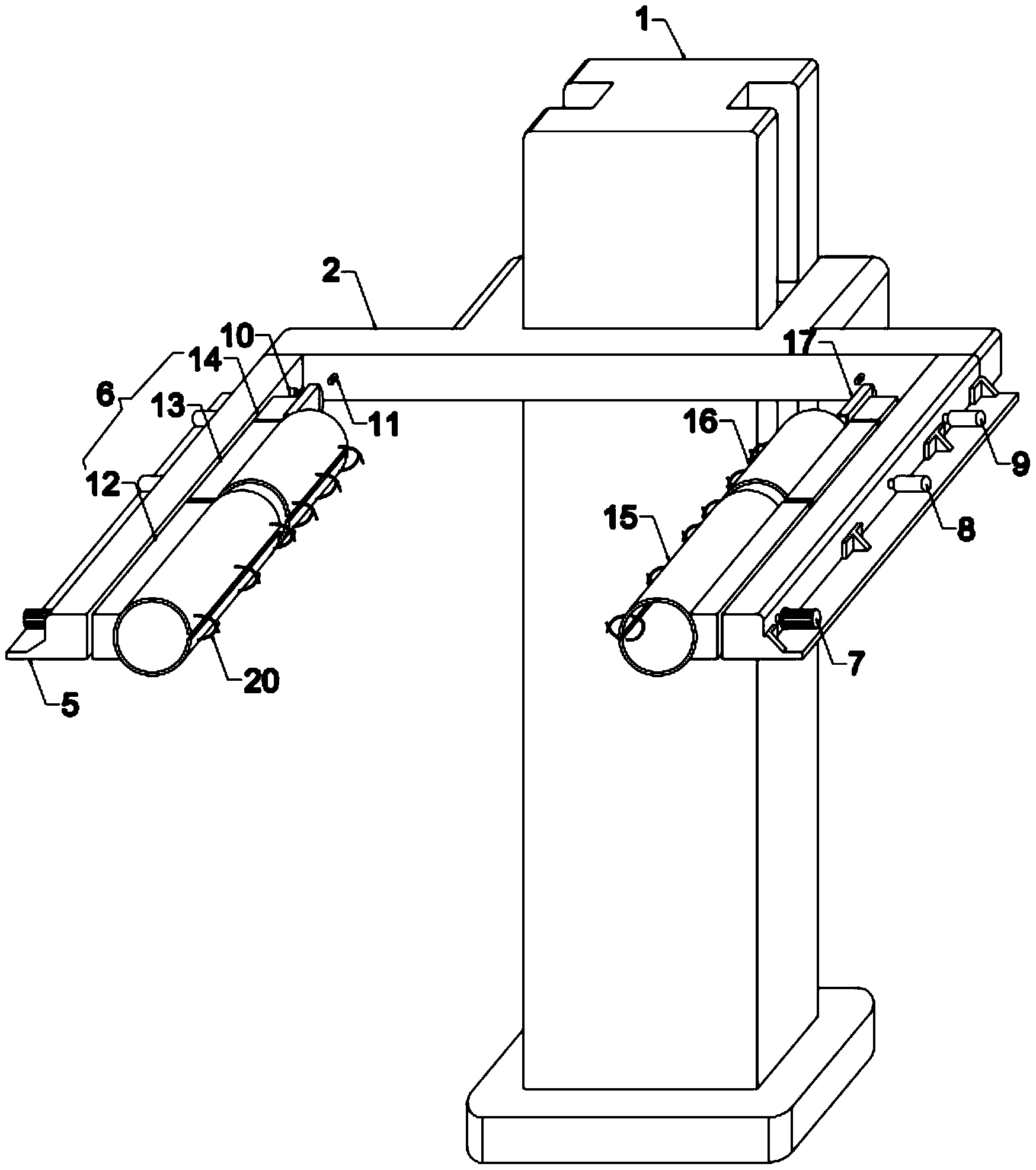
| 摘要: | 本实用新型公开了一种上肢功能训练装置,包括支撑座,在所述支撑座上安装有能够升降的上肢功能训练支撑架,其中,在所述上肢功能训练支撑架两侧均安装有固定板,每一固定板上安装有电机,电机的电机输出轴与设置在固定板上的上肢放置架连接;在所述上肢放置架上依次设有上臂包裹带、前臂包裹带、手部包裹带,在所述固定板上还设有分别与上臂包裹带、前臂包裹带、手部包裹带位置相对应的用于分别对上臂、前臂、手部进行训练的电动上臂伸缩杆、电动前臂伸缩杆、电动手部伸缩杆。本上肢功能训练装置具有能够固定患者术后上肢姿势和帮助患者术后被动训练等优点。 | ||||
| 补充信息 | |||||
| 转让方式: | 成熟度: | 预估价值: | |||
| 市场前景: | |||||