样品
成果详情
| 项目简介 | |||||
|---|---|---|---|---|---|
| 技术简介: | |||||
| 专利类型: | 实用新型 | 专利申请号: | CN202420561464.9 | 公开号: | CN222032937U |
| 专利权人: | 南方医科大学南方医院 | 发明设计人: | 王晓芬 | ||
| 所属领域: | |||||
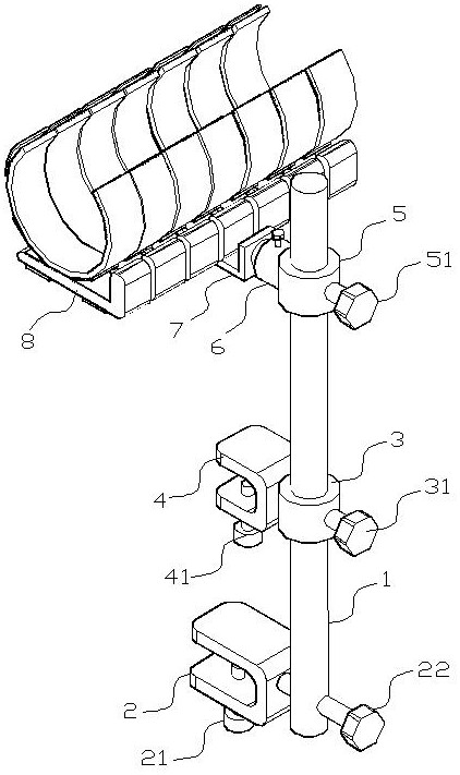
| 摘要: | 本实用新型涉及术肢抬高领域,尤其涉及一种术肢抬高角度调整支架,该支架可解决背景技术中提出的支撑板为一体结构,不能根据患者手臂调整支撑位置,且绑带为一处,不能调节绑带固定手臂的位置的问题。包括立杆,立杆底部左侧设有第一固定架,立杆下端部从右向左旋拧贯穿有调节螺栓;第一固定架上侧的立杆上可旋转设有第一套环,第一套环右侧向内旋拧有第一限位螺栓,第一套环左侧固定设有第二固定架;第一套环上侧的立杆上可旋转套设有第二套环,第二套环右侧向内设有第二限位螺栓,第二套环左侧通过可旋转的连接件与第一拐角支板的第一竖板右侧面固定连接,第一拐角支板第一横板上侧固定设有支撑件。它操作简单,使用方便,适用于多种患者。 | ||||
| 补充信息 | |||||
| 转让方式: | 成熟度: | 预估价值: | |||
| 市场前景: | |||||