样品
成果详情
| 项目简介 | |||||
|---|---|---|---|---|---|
| 技术简介: | |||||
| 专利类型: | 实用新型 | 专利申请号: | CN201920476674.7 | 公开号: | CN209524904U |
| 专利权人: | 南方医科大学 | 发明设计人: | 余学飞;孙颖;刘永泓 | ||
| 所属领域: | |||||
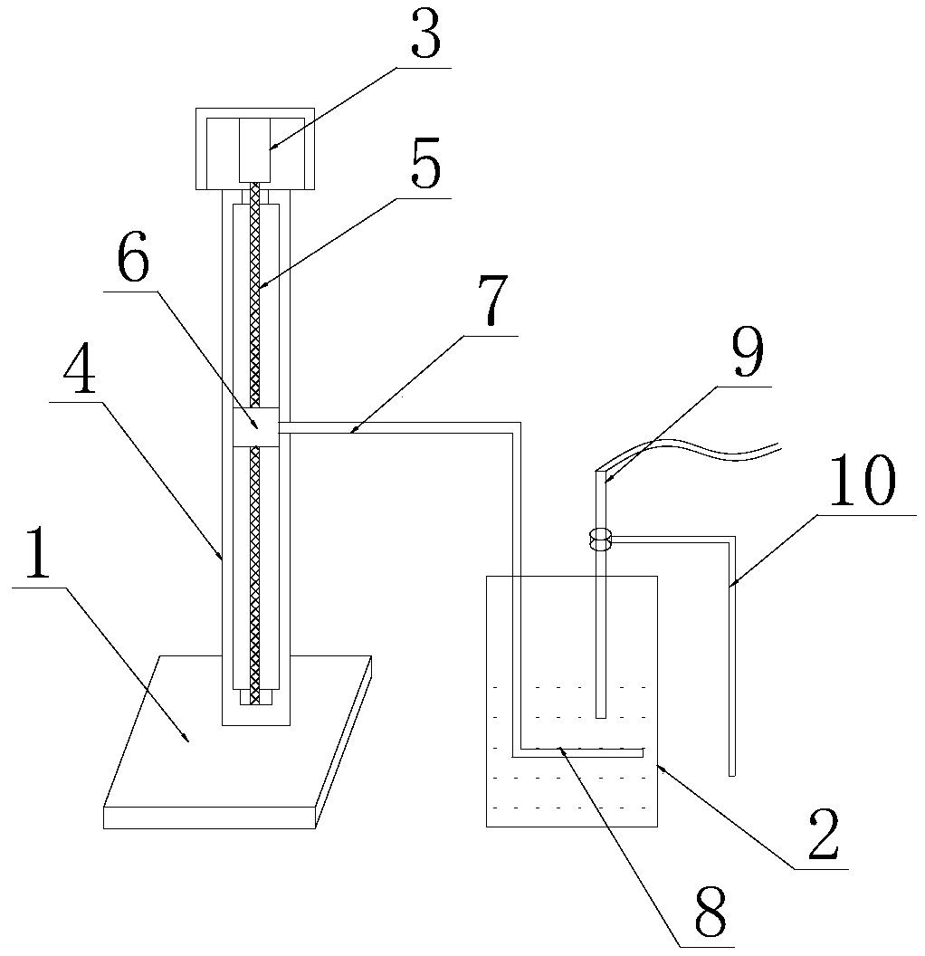
| 摘要: | 本实用新型公开了一种开端同轴探头的探测深度实验距离电动控制装置,包括控制器、底座和用于放置样品的容量瓶,所述底座的顶部设置有步进电机和升降支撑柱,所述步进电机与所述控制器连接,所述升降支撑柱的一侧开设有活动口,所述活动口与所述升降支撑柱的内腔相连通,所述升降支撑柱的内腔垂直设置有螺杆,所述螺杆与所述步进电机的输出端连接,所述螺杆的外壁螺纹连接有螺纹套,所述螺纹套贴近所述活动口的一侧连接有连接杆,所述连接杆远离所述螺杆的一端连接有特氟龙板,所述特氟龙板放置于所述容量瓶的液面下方,所述特氟龙板的正上方设置有同轴探头。 | ||||
| 补充信息 | |||||
| 转让方式: | 成熟度: | 预估价值: | |||
| 市场前景: | |||||