样品
成果详情
| 项目简介 | |||||
|---|---|---|---|---|---|
| 技术简介: | |||||
| 专利类型: | 实用新型 | 专利申请号: | CN202022946072.9 | 公开号: | CN215018248U |
| 专利权人: | 南方医科大学南方医院 | 发明设计人: | 许波;李丹;朱清瑶;张广清;陈洁;莫晓琼 | ||
| 所属领域: | |||||
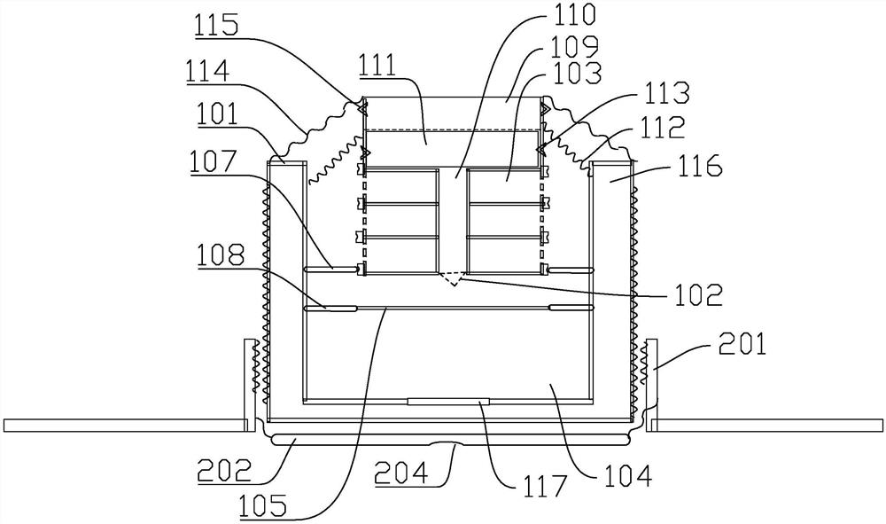
| 摘要: | 本实用新型公开了一种用于PICC置管后的止血装置,止血装置包括反应器和固定带,反应器包括外壳和储存装置,外壳内的底部设置有反应腔,反应腔用于储存溶液一,反应腔的顶部设置有第一封膜,外壳设置有用于储存硫酸盐溶液的夹层,外壳内的底壁设置有第二封膜,储存装置设置在外壳中,储存装置的底部设置有穿刺部,储存装置设置有多个储存部,储存部包括多个储存格,储存格用于储存固态物质。固定带将反应器固定在出血位置,按压储存装置,穿刺部刺破第一封膜,溶液一和固态物质反应制冷,加快止血。继续按压储存装置,穿刺部刺破第二封膜,硫酸盐溶液与氢氧化钡或氯化钡反应生成无毒的硫酸钡。本实用新型可广泛应用于医疗器械技术领域。 | ||||
| 补充信息 | |||||
| 转让方式: | 成熟度: | 预估价值: | |||
| 市场前景: | |||||