样品
成果详情
| 项目简介 | |||||
|---|---|---|---|---|---|
| 技术简介: | |||||
| 专利类型: | 实用新型 | 专利申请号: | CN201921041685.9 | 公开号: | CN210171996U |
| 专利权人: | 南方医科大学南方医院 | 发明设计人: | 黄逸聪 | ||
| 所属领域: | |||||
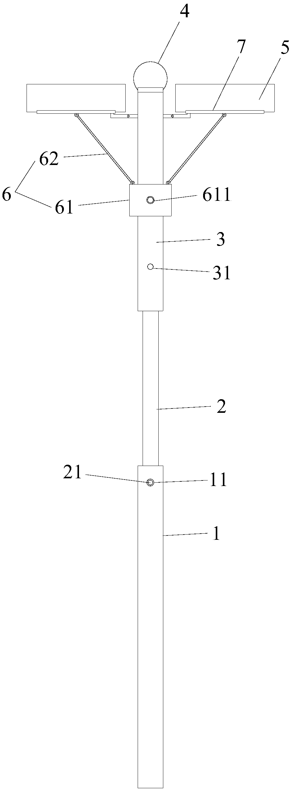
| 摘要: | 本实用新型公开了一种高压氧舱清洁工具,包括把手杆,把手杆内装有于把手杆前端伸缩的伸缩杆,伸缩杆的前端固定有延伸杆,延伸杆的前端固定有一清洁部一,延伸杆的前端近端铰接连接有两个可打开和收起的清洁部二,延伸杆上装有使清洁部二打开和收起的操作部。本实用新型的高压氧舱清洁工具能将高压氧舱内清洁干净,杜绝了安全隐患。 | ||||
| 补充信息 | |||||
| 转让方式: | 成熟度: | 预估价值: | |||
| 市场前景: | |||||