样品
成果详情
| 项目简介 | |||||
|---|---|---|---|---|---|
| 技术简介: | |||||
| 专利类型: | 实用新型 | 专利申请号: | CN201920502562.4 | 公开号: | CN210124260U |
| 专利权人: | 南方医科大学珠江医院 | 发明设计人: | 钟克波;薛巍松;李阳;彭青;曹佩华;廖曙光;高毅 | ||
| 所属领域: | |||||
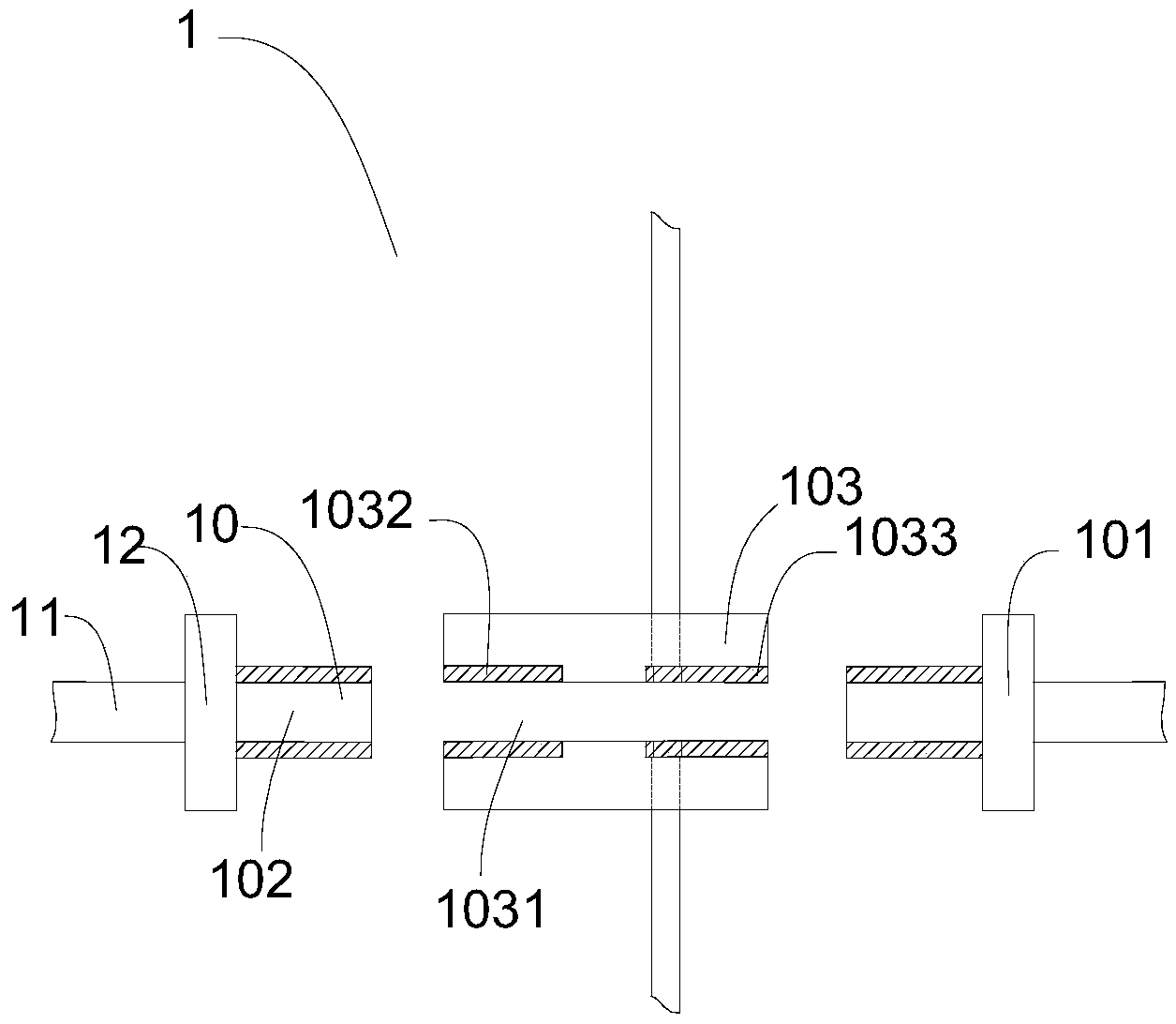
| 摘要: | 本实用新型提供了一种接管结构、器官灌注舱及生物人工肝系统,其中接管结构包括端部设为连接端的第一接头和第二接头、以及供所述连接端接合的接头固定卡位,所述接头固定卡位设有两个相贯通的开口以形成分别导通所述第一接头和第二接头的接合通道,所述接合通道的外形与所述第一接头和所述第二接头的外形相匹配。本实用新型接管结构不仅结构组成简单,而且操作便捷;运用于器官灌注舱能够实现多管路的器官灌注舱的便捷化操作;运用于生物人工肝系统,能够大大缩短了肝脏的缺血时间,从而保持体外肝脏的活力。 | ||||
| 补充信息 | |||||
| 转让方式: | 成熟度: | 预估价值: | |||
| 市场前景: | |||||