样品
成果详情
| 项目简介 | |||||
|---|---|---|---|---|---|
| 技术简介: | |||||
| 专利类型: | 发明 | 专利申请号: | CN201810396599.3 | 公开号: | CN108542482A |
| 专利权人: | 南方医科大学南方医院 | 发明设计人: | 余斌;崔壮;吴航天 | ||
| 所属领域: | |||||
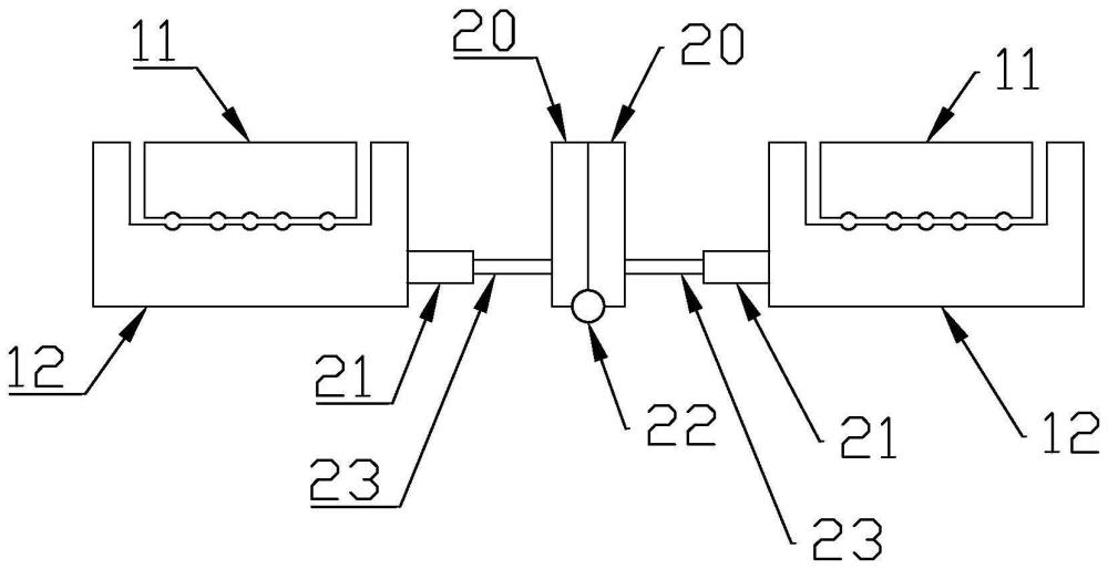
| 摘要: | 本发明公开了用于骨折复位的便携式外固定架,包括两个固定架主体,两个固定架主体之间通过铰接轴折合或展开,各固定架主体包括固定座和连接座,固定座和连接座之间布置有可伸缩的连杆组件,各固定座上通过至少两个螺栓安装有骨针压块,各固定座内布置有可供连杆组件伸入的容纳腔,容纳腔包括可供连杆组件穿过的敞口,敞口布置有转动轴,转动轴的中部布置有第三通孔。本发明设计了两个可折合或展开的固定架主体,每个固定架主体通过可伸缩的连杆组件可改变尺寸以适用于不同的骨折复位场景,每个固定架主体中的固定座可通过转动轴调整骨折复位时骨针的位置。本发明结构简单、携带方便,可广泛应用于骨折复位的医疗器械技术领域。 | ||||
| 补充信息 | |||||
| 转让方式: | 成熟度: | 预估价值: | |||
| 市场前景: | |||||