样品
成果详情
| 项目简介 | |||||
|---|---|---|---|---|---|
| 技术简介: | |||||
| 专利类型: | 实用新型 | 专利申请号: | CN202421303523.9 | 公开号: | CN222693696U |
| 专利权人: | 南方医科大学珠江医院 | 发明设计人: | 毛小娟;龚妍 | ||
| 所属领域: | |||||
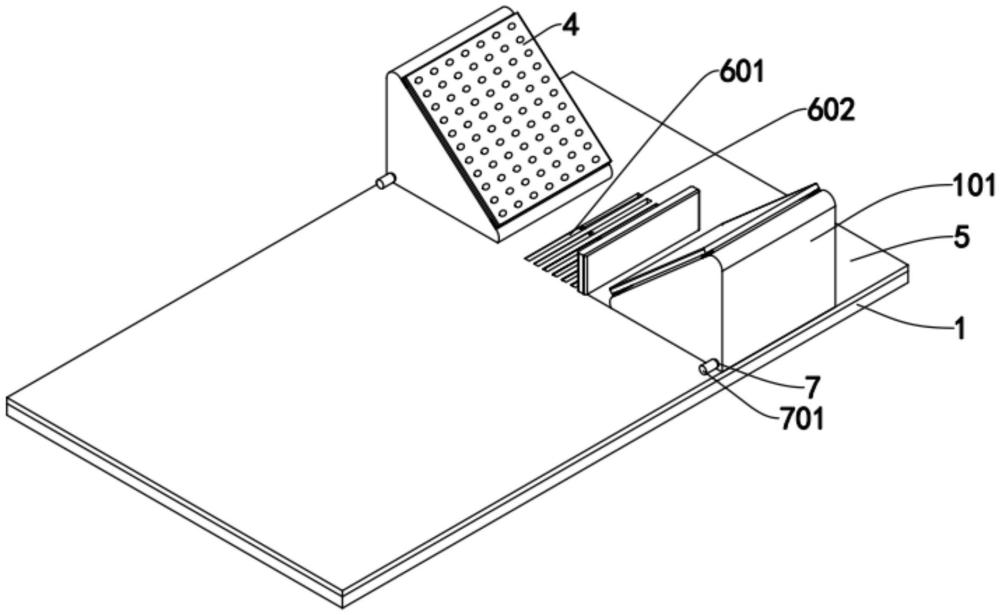
| 摘要: | 本实用新型提供了一种充气式翻身枕,涉及医疗器械技术领域,包括:底板,底板顶部两侧均设置有翻身枕,翻身枕内部设置有充气块,两块充气块之间设置有限位组件,避免避免患者从翻身枕滑落,限位组件包括:插槽、竖板、插块和侧板,设置于翻身枕外端一侧的贴合组件,用于贴合患者背部,贴合组件包括:贴合块、刺毛块和圆毛块。该种充气式翻身枕通过将患者移动至翻身枕顶部,再对充气块充气即可便于将患者抬高翻身,避免患者背部出现压疮,且通过限位组件可以对患者限位,避免患者从翻身枕上滑落,并通过贴合组件可以确保患者背部的舒适性以及透气性,且贴合板通过刺毛块和圆毛块便于更换。 | ||||
| 补充信息 | |||||
| 转让方式: | 成熟度: | 预估价值: | |||
| 市场前景: | |||||