样品
成果详情
| 项目简介 | |||||
|---|---|---|---|---|---|
| 技术简介: | |||||
| 专利类型: | 实用新型 | 专利申请号: | CN202121589675.6 | 公开号: | CN215757340U | 
| 专利权人: | 南方医科大学南方医院 | 发明设计人: | 刘军 | ||
| 所属领域: | |||||
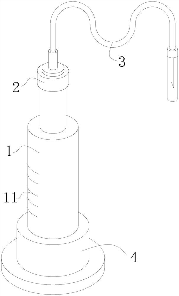
| 摘要: | 本实用新型公开了一种安全型血培养瓶,包括瓶体、瓶塞和取样组件;瓶塞设置于瓶体上,取样组件可拆卸式的设置于瓶塞上且与瓶体连通;取样组件包括穿刺针管、固定板、传输管和采血针管;固定板的下部还设置有多个卡块;瓶塞包括密封层、穿刺层和金属包边层,穿刺层设置于密封层上,金属包边层上对应各卡块的位置,分别设置有一延伸至密封层内部的卡槽,当取样组件插入到瓶塞内部时,固定板下端的多个卡块扣合到瓶塞的卡槽内,将穿刺针管固定在瓶塞上,本实施例通过改进整体结构设计,将固定板下端的多个卡块扣合到瓶塞的卡槽内,避免针头容易从培养瓶上脱落的问题,不仅能稳定的将针头固定于培养瓶上,同时还能快速、方便的对患者进行采血收集。 | ||||
| 补充信息 | |||||
| 转让方式: | 成熟度: | 预估价值: | |||
| 市场前景: | |||||