样品
成果详情
| 项目简介 | |||||
|---|---|---|---|---|---|
| 技术简介: | |||||
| 专利类型: | 发明 | 专利申请号: | CN201510671208.0 | 公开号: | CN105286991B |
| 专利权人: | 南方医科大学 | 发明设计人: | 苏瑾;黄国华;蔡绍曦 | ||
| 所属领域: | |||||
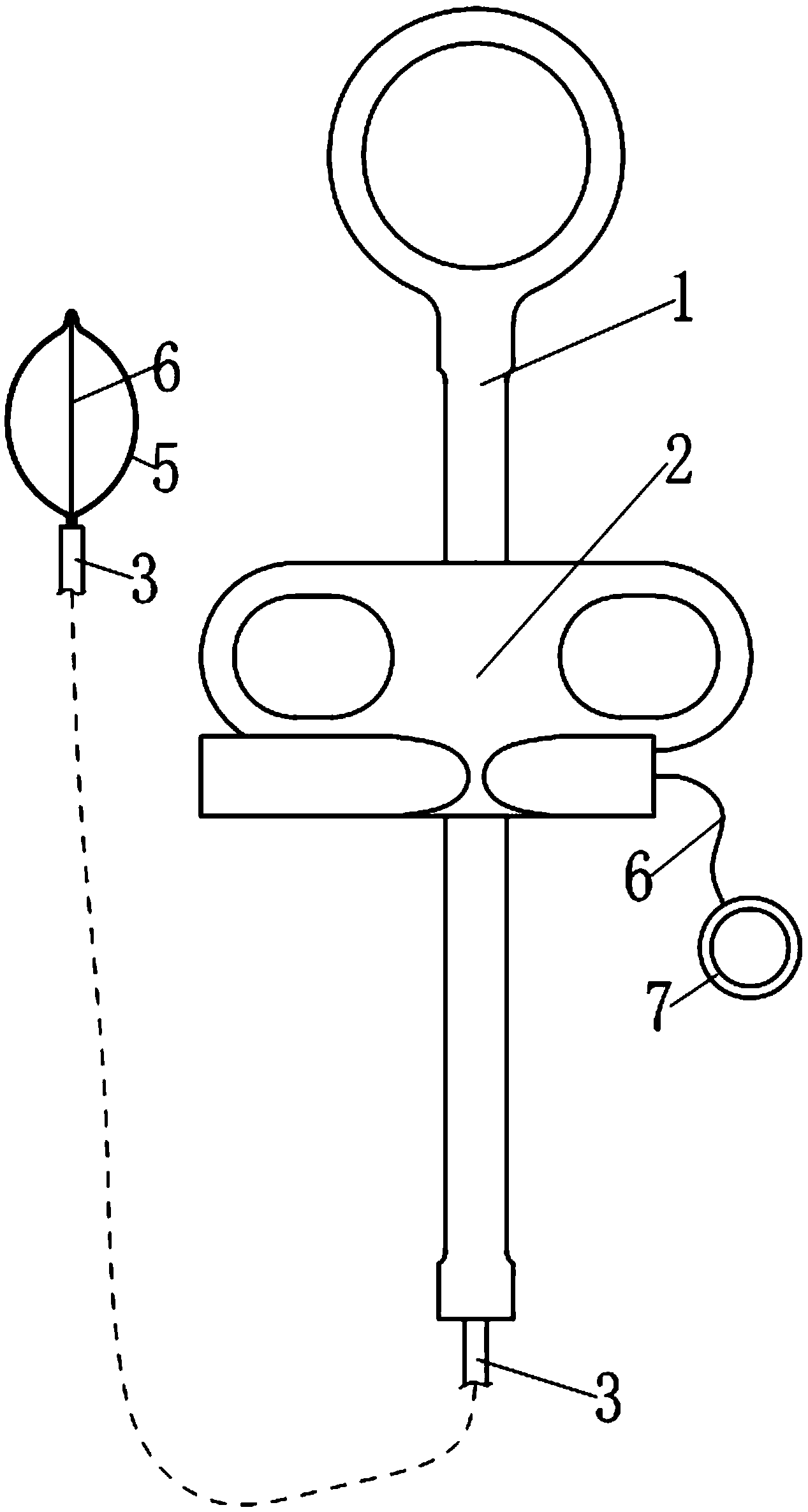
| 摘要: | 本发明公开了一种采用使电流通过待加热组织的方式切割人体组织的外科器械,具体为一种电圈套器,该电圈套器包括依次连接的控制手柄和柔性鞘管,所述柔性鞘管中穿设有控制钢丝,该控制钢丝的一头与设在控制手柄的滑柄上的电极相连,另一头设有一具有引导头的套圈并延伸至柔性鞘管的远端;其特征在于,所述柔性鞘管中还穿设有一根控制索,该控制索的一头由控制手柄侧面穿出,另一头连接在套圈的引导头上。本发明所述的电圈套器具有结构简单,套圈开口方向易于控制的优点,适用于切除沿管道轴向生长的息肉或肿瘤。 | ||||
| 补充信息 | |||||
| 转让方式: | 成熟度: | 预估价值: | |||
| 市场前景: | |||||