样品
成果详情
| 项目简介 | |||||
|---|---|---|---|---|---|
| 技术简介: | |||||
| 专利类型: | 实用新型 | 专利申请号: | CN202021747428.X | 公开号: | CN213607327U |
| 专利权人: | 南方医科大学南方医院 | 发明设计人: | 周静;杨荷;曹伊敏;李园;许万藏;刘晓兰 | ||
| 所属领域: | |||||
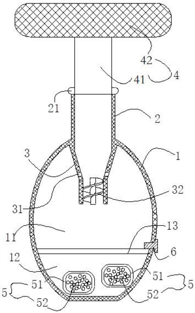
| 摘要: | 本实用新型提供一种男性病人用无菌吸液尿袋,包括有集尿袋、套接软管、锥型导尿管、固定装置和吸液包,所述集尿袋包括有第一集尿腔和第二集尿腔,所述第一集尿腔和第二集尿腔之间设置有用于控制第一集尿腔和第二集尿腔连通的卡扣组件,所述套接软管固定于所述集尿袋上端且与所述集尿袋连通,所述固定装置固定于所述套接软管上且能够用于固定集尿袋的位置,所述吸液包设置于所述第二集尿腔内部,所述锥型导尿管下端还设置有用于防止尿液倒流的螺旋导尿杆,该男性病人用无菌吸液尿袋不仅能够保证集尿袋的稳定性,避免松脱,同时还能防止尿液倒流,有效的将集尿袋内部的尿液吸收,防止尿液长时间保存产生的细菌滋生,避免病人感染。 | ||||
| 补充信息 | |||||
| 转让方式: | 成熟度: | 预估价值: | |||
| 市场前景: | |||||