样品
成果详情
| 项目简介 | |||||
|---|---|---|---|---|---|
| 技术简介: | |||||
| 专利类型: | 实用新型 | 专利申请号: | CN202022866022.X | 公开号: | CN213736403U | 
| 专利权人: | 南方医科大学南方医院 | 发明设计人: | 许波;曹婉雯;许重远;古安城;姚香草;王艳芳 | ||
| 所属领域: | |||||
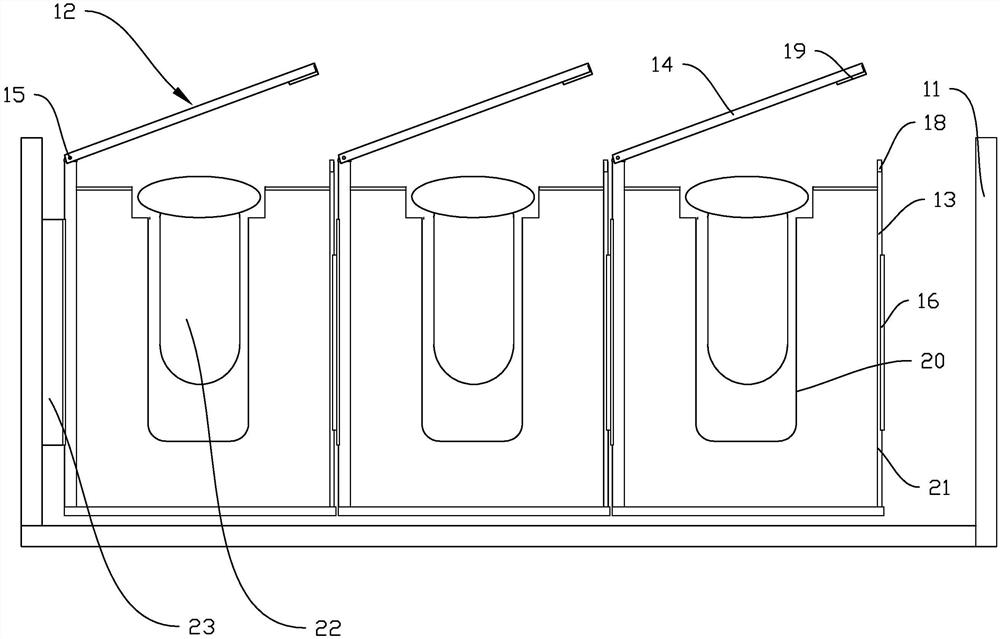
| 摘要: | 本实用新型公开了冻存格单元及样本冻存装置,冻存格单元,包括至少两个冻存格,两个所述冻存格之间通过磁性吸附固定,其中,各个所述冻存格包括呈长方体状的外壳和壳盖,所述外壳具有外壳内壁和外壳外壁,所述外壳内壁和外壳外壁之间形成第一空间,所述第一空间内填充有缓冲剂,所述外壳内壁围成用于放置冻存管的第一腔体,所述第一腔体具有出口,所述壳盖具有第一端和第二端,所述第一端铰接在外壳的上部,以使得所述壳盖能够打开或关闭第一腔体的出口,冻存管加入样本后,只需要将吸附在一起的冻存格放入冻存盒内即可,不用反复拿取冻存盒,操作简单方便又能避免冻存盒内的样本发生超温现象。 | ||||
| 补充信息 | |||||
| 转让方式: | 成熟度: | 预估价值: | |||
| 市场前景: | |||||