样品
成果详情
| 项目简介 | |||||
|---|---|---|---|---|---|
| 技术简介: | |||||
| 专利类型: | 实用新型 | 专利申请号: | CN202020235948.6 | 公开号: | CN211912010U |
| 专利权人: | 互邦老宝贝(苏州)科技有限公司;南方医科大学南方医院;上海互邦智能康复设备股份有限公司 | 发明设计人: | 江千里;成庆华;贺金明;杨洪波;陈全凤;郝雨晨;黄淇轩;江俪川 | ||
| 所属领域: | |||||
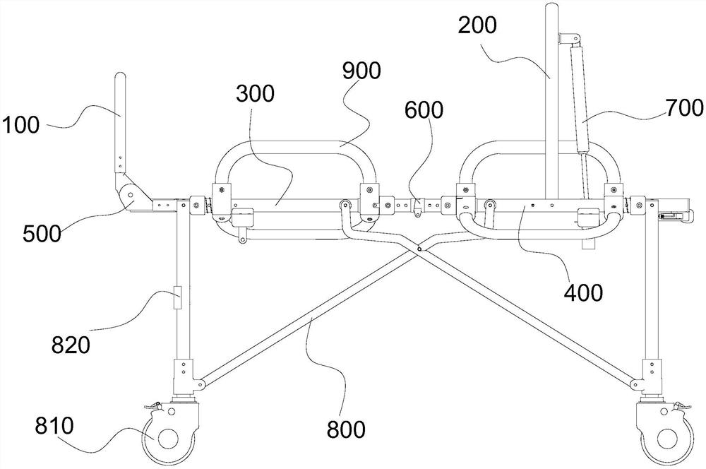
| 摘要: | 本实用新型公开了一种可折叠推车,其包括床面架和支撑机构,所述支撑机构设置在所述床架主体的下方,且所述支撑机构上设置有万向轮;所述床面架包括依次设置的第一调节床架、第一承载床架、第二承载床架和第二调节床架,所述第一调节床架经第一折叠旋转机构与所述第一承载床架连接,所述第一承载床架经第二折叠旋转机构与所述第二承载床架连接,所述第二调节床架与第二承载床架铰接。本实用新型实施例提供的一种可折叠推车的第二调节床架采用气动弹簧推起折叠,推起角度可随意调节,舒适性大大增加;另外,本实用新型实施例提供的一种可折叠推车的中间折叠能够方便收起,折叠后的体积小,能够方便收纳。 | ||||
| 补充信息 | |||||
| 转让方式: | 成熟度: | 预估价值: | |||
| 市场前景: | |||||