样品
成果详情
| 项目简介 | |||||
|---|---|---|---|---|---|
| 技术简介: | |||||
| 专利类型: | 实用新型 | 专利申请号: | CN201921032576.0 | 公开号: | CN210472432U |
| 专利权人: | 南方医科大学南方医院 | 发明设计人: | 黄宏;廖卫华;方晓英;吴迪 | ||
| 所属领域: | |||||
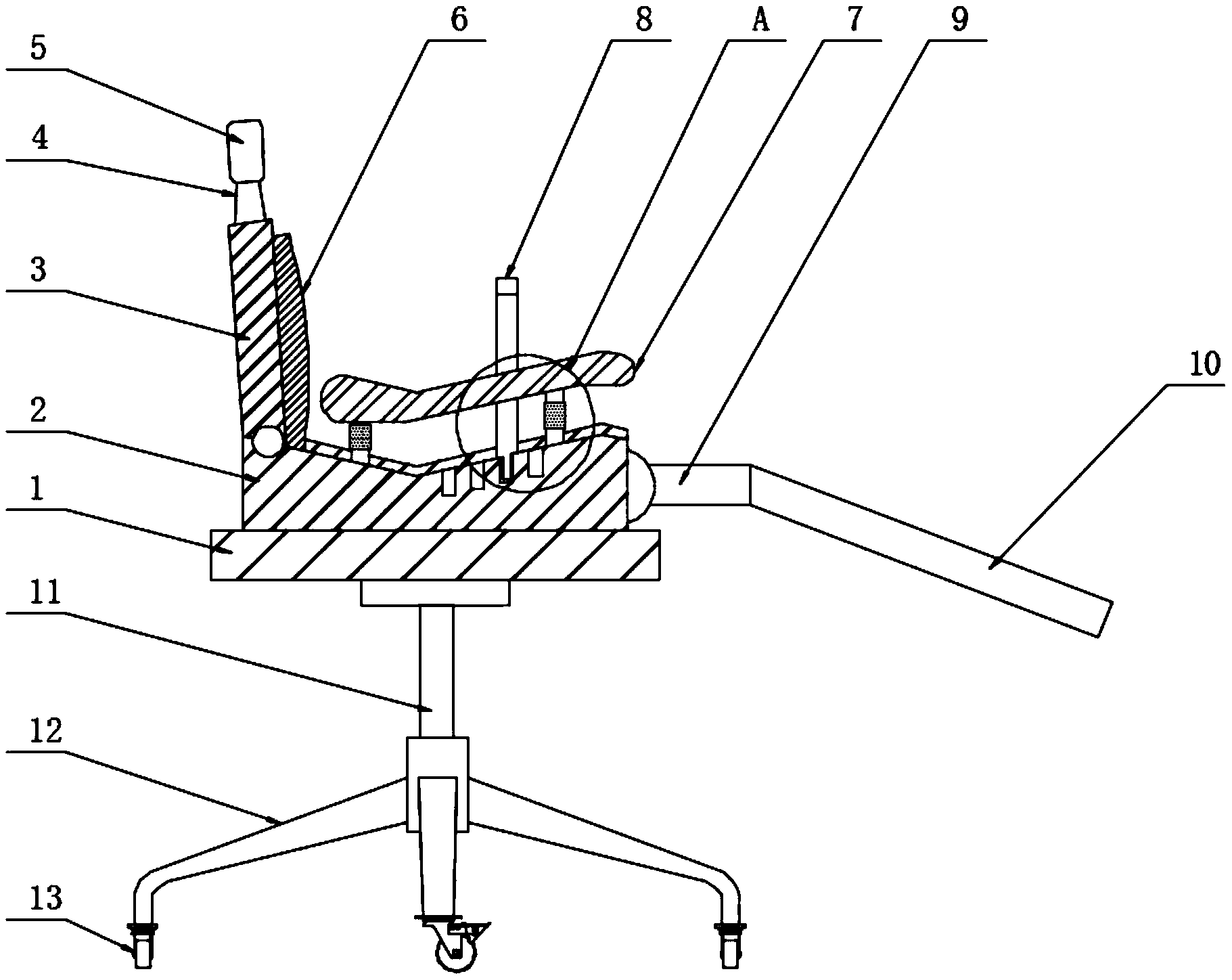
| 摘要: | 本实用新型公开了一种新型袋鼠式护理用躺椅,具体涉及医学护理设备技术领域,包括基座,所述基座的顶端固定设置有固定板,所述固定板的顶端活动连接有靠背,且固定板的一侧固定设置有延伸板,所述固定板的内部设置有限位阻挡机构,所述限位阻挡机构包括限位槽,所述限位槽的数量设置有四个。本实用新型设置了限位阻挡机构以及辅助滑动支撑机构,将限位块插入到限位槽中,可对宝宝的身体进行限位,方便妈妈对宝宝进行哺乳,通过万向轮移动基座的位置,便于使用躺椅,设置了按摩机构,第一凸起辊和第二凸起辊实现转动,可对妈妈的小腿部进行按摩,舒缓身心,缓解疲劳。 | ||||
| 补充信息 | |||||
| 转让方式: | 成熟度: | 预估价值: | |||
| 市场前景: | |||||