样品
成果详情
| 项目简介 | |||||
|---|---|---|---|---|---|
| 技术简介: | |||||
| 专利类型: | 实用新型 | 专利申请号: | CN202320670388.0 | 公开号: | CN219595529U |
| 专利权人: | 南方医科大学珠江医院 | 发明设计人: | 许旺;廖荣荣;王欢 | ||
| 所属领域: | |||||
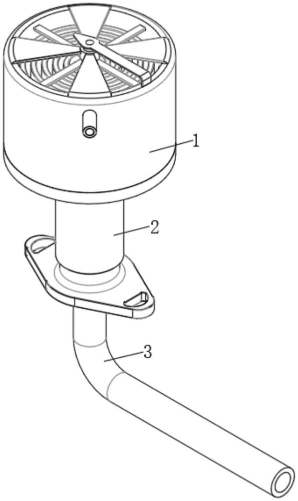
| 摘要: | 本实用新型公开了一种防痰液喷溅多功能人工鼻,包括第一连接部机构,所述第一连接部机构包括第一连接管,所述第一连接管的内部固定连接有连接杆,所述连接杆的内侧固定连接有空心柱,所述空心柱上开设有发音孔,所述第一连接管的顶部固定连接有连接板,所述第二连接部机构包括第二连接管,所述第二连接管的底部固定连接有插管,所述插管的内部固定连接有塑料网,所述插管的底部固定连接有金属套管;该防痰液喷溅多功能人工鼻,通过塑料网螺纹排布在插管的内部,且塑料网的内部设置有倒刺,在患者咳痰时,该倒刺能有效阻挡痰液的喷溅,还能避免痰液成坨堆积,但不会阻挡气体交换,避免患者出现窒息的危险。 | ||||
| 补充信息 | |||||
| 转让方式: | 成熟度: | 预估价值: | |||
| 市场前景: | |||||