样品
成果详情
| 项目简介 | |||||
|---|---|---|---|---|---|
| 技术简介: | |||||
| 专利类型: | 实用新型 | 专利申请号: | CN201920502501.8 | 公开号: | CN210056419U |
| 专利权人: | 南方医科大学南方医院 | 发明设计人: | 郭萍;黄榕;郭亚云;王秀英;黄少慧;龙娟 | ||
| 所属领域: | |||||
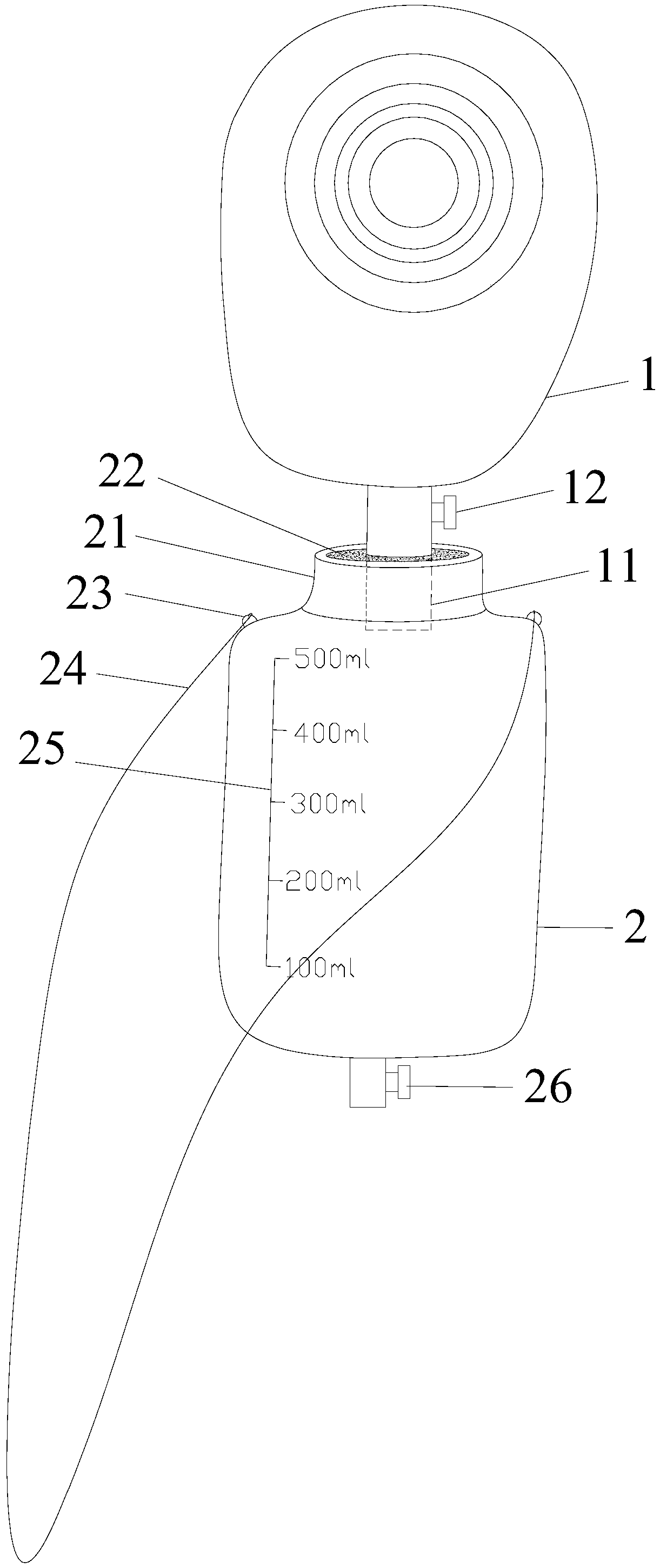
| 摘要: | 本实用新型公开了一种腹泻患者造口计量袋,包括造口袋,还包括储存袋,所述储存袋的上端敞口处固定有环形体,环形体内固定有中空弹性橡胶片,储存袋的下端装有留取标本开关,造口袋的下端连接有连接管,连接管的上部有开关,连接管的下部插入中空弹性橡胶片内且与中空弹性橡胶片的内边缘紧密吻合。本实用新型的腹泻患者造口计量袋可防止反复处理大便导致患者受凉。 | ||||
| 补充信息 | |||||
| 转让方式: | 成熟度: | 预估价值: | |||
| 市场前景: | |||||