样品
成果详情
| 项目简介 | |||||
|---|---|---|---|---|---|
| 技术简介: | |||||
| 专利类型: | 实用新型 | 专利申请号: | CN202121385689.6 | 公开号: | CN215307907U |
| 专利权人: | 南方医科大学南方医院 | 发明设计人: | 卓国馨 | ||
| 所属领域: | |||||
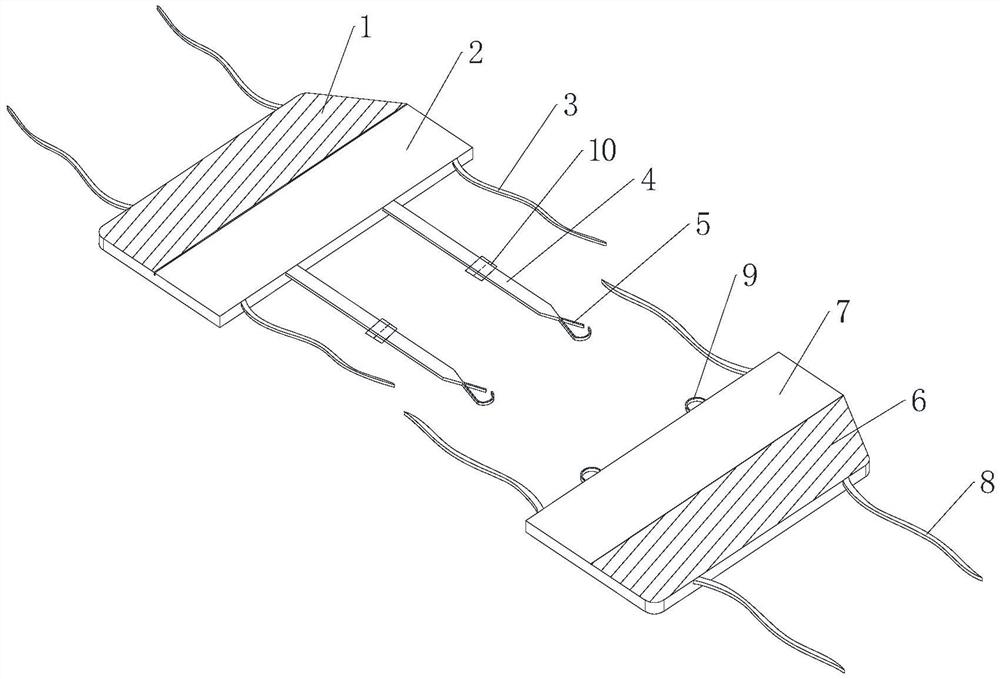
| 摘要: | 本实用新型公开了一种固定手板绑带,包括左回弹海绵、左双层棉布、锁带、右回弹海绵、右双层棉布和扣环,所述左双层棉布包裹在左回弹海绵的外端,左双层棉布的左右两侧分别安装有左固定绑带,两个锁带一端与左双层棉布的右侧固定连接,锁带位于上下两个左固定绑带的内侧位置,锁带的另一端设置有卡扣,锁带上还设置有调节扣,右双层棉布包裹在右回弹海绵的外端,右双层棉布的左右两端分别设置有右固定绑带,两个扣环安装在右双层棉布的左侧并位于上下两个右固定绑带的内侧位置,所述左双层棉布通过锁带上的卡扣扣接在扣环上。单侧及双侧可根据手术需要调整,该绑带具有使用方便、结构简单及长度可调的特点。 | ||||
| 补充信息 | |||||
| 转让方式: | 成熟度: | 预估价值: | |||
| 市场前景: | |||||