样品
成果详情
| 项目简介 | |||||
|---|---|---|---|---|---|
| 技术简介: | |||||
| 专利类型: | 实用新型 | 专利申请号: | CN202120141886.7 | 公开号: | CN215426641U | 
| 专利权人: | 南方医科大学南方医院 | 发明设计人: | 谢红燕;成姚;邱蓉;汤青云;马琼 | ||
| 所属领域: | |||||
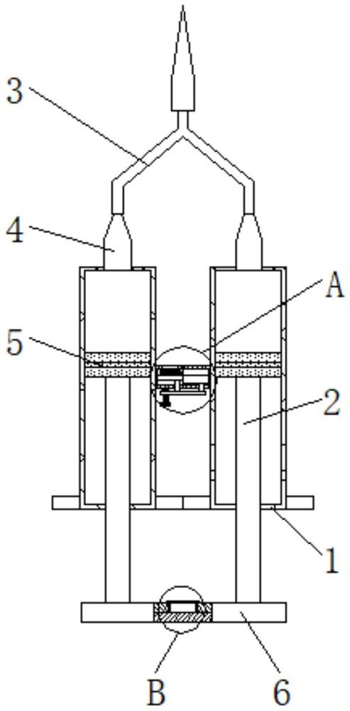
| 摘要: | 本实用新型公开了双腔预充注射器,包括注射器主体,所述注射器主体的数量为两个,所述注射器主体的顶部连通有注射端,所述注射端的顶部连通有聚流管,所述注射器主体的底部贯穿设置有活塞杆,所述活塞杆的顶部固定连接有活塞,所述活塞杆的底部固定连接有推板。本实用新型通过设置注射器主体、活塞杆、聚流管、注射端、活塞、橡胶卡块、横板、第一连接壳、第二连接壳、第二板体、弹簧、螺纹杆、卡槽、限位杆和第一板体的配合使用,解决了现有的双腔预充注射器在医护人员的使用过程中通常不便于对其进行组装和拆卸,使得医护人员在使用时可能会受到其组装拆分灵活性的影响,导致对医护人员的工作效率造成一定影响的问题。 | ||||
| 补充信息 | |||||
| 转让方式: | 成熟度: | 预估价值: | |||
| 市场前景: | |||||