样品
成果详情
| 项目简介 | |||||
|---|---|---|---|---|---|
| 技术简介: | |||||
| 专利类型: | 实用新型 | 专利申请号: | CN202121776419.8 | 公开号: | CN215961513U |
| 专利权人: | 南方医科大学南方医院 | 发明设计人: | 邓玲玲;陈建辉 | ||
| 所属领域: | |||||
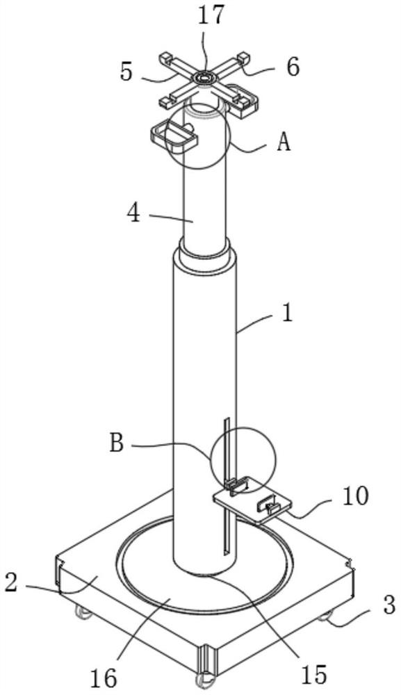
| 摘要: | 本实用新型公开了一种新型护理输液辅助装置,涉及医疗器械技术领域,本实用新型包括支架和底板,支架下端安装有底板,支架上端连接有伸缩柱,伸缩柱顶端连接有转杆,转杆周侧外表面连接有挂杆,挂杆表面设置有钩槽,伸缩柱外侧安装有落位槽,落位槽一侧连接有连接件,连接件一端与伸缩柱连接,落位槽底端连接有加热块,支架一侧安装有固定板,固定板表面连接有伸缩杆,伸缩杆的输出端连接有夹持板,固定板一侧连接有滑块,支架表面设置有滑槽。本实用新型伸缩柱外侧于挂杆下方安装落位槽,落位槽对吊置的输液袋进行承托,落位槽底端安装加热块,对落位槽内进行辅助升温,以对输液袋产生同步升温效果,输液设备的环境适应能力加强。 | ||||
| 补充信息 | |||||
| 转让方式: | 成熟度: | 预估价值: | |||
| 市场前景: | |||||