样品
成果详情
| 项目简介 | |||||
|---|---|---|---|---|---|
| 技术简介: | |||||
| 专利类型: | 实用新型 | 专利申请号: | CN202323546247.7 | 公开号: | CN222130213U |
| 专利权人: | 南方医科大学南方医院 | 发明设计人: | 周敏捷;王静;王亦斌;邓文锋 | ||
| 所属领域: | |||||
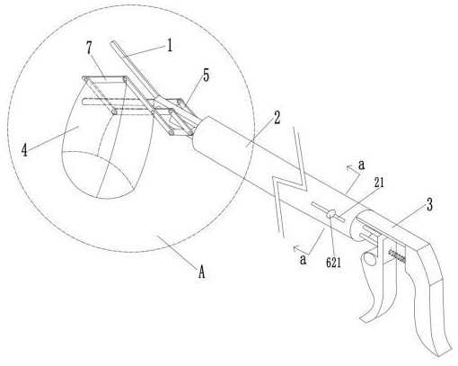
| 摘要: | 本实用新型公开了一种腔镜术用肿瘤取出装置,涉及微创手术技术领域,包括夹持钳、长柄和操作握把,还包括收集袋,夹持钳和收集袋可调节设置在长柄的前端;夹持钳与长柄之间,以及收集袋与长柄之间均设置有调节组件;长柄内部贯穿且活动设置有用于分别驱动2个调节组件移动的第一驱动件和第二驱动件;操作握把固设在长柄的末端,并与第一驱动件固定连接。本实用新型结构设计科学合理,可同时实现对肿瘤的夹持与接取,操作简单,效率高;L形驱动杆、螺纹帽与第一菱形支架配合,控制收集袋开口的开闭,便于装置从切口进入及取出。本实用新型可有效解决现有腔镜术用肿瘤取出装置中存在的从切口中塞入及取出困难,功能单一的问题。 | ||||
| 补充信息 | |||||
| 转让方式: | 成熟度: | 预估价值: | |||
| 市场前景: | |||||